출원번호 : 10-2018-0124500 (2018.10.18)
등록번호 : 10-20655160000 (2020.01.07)
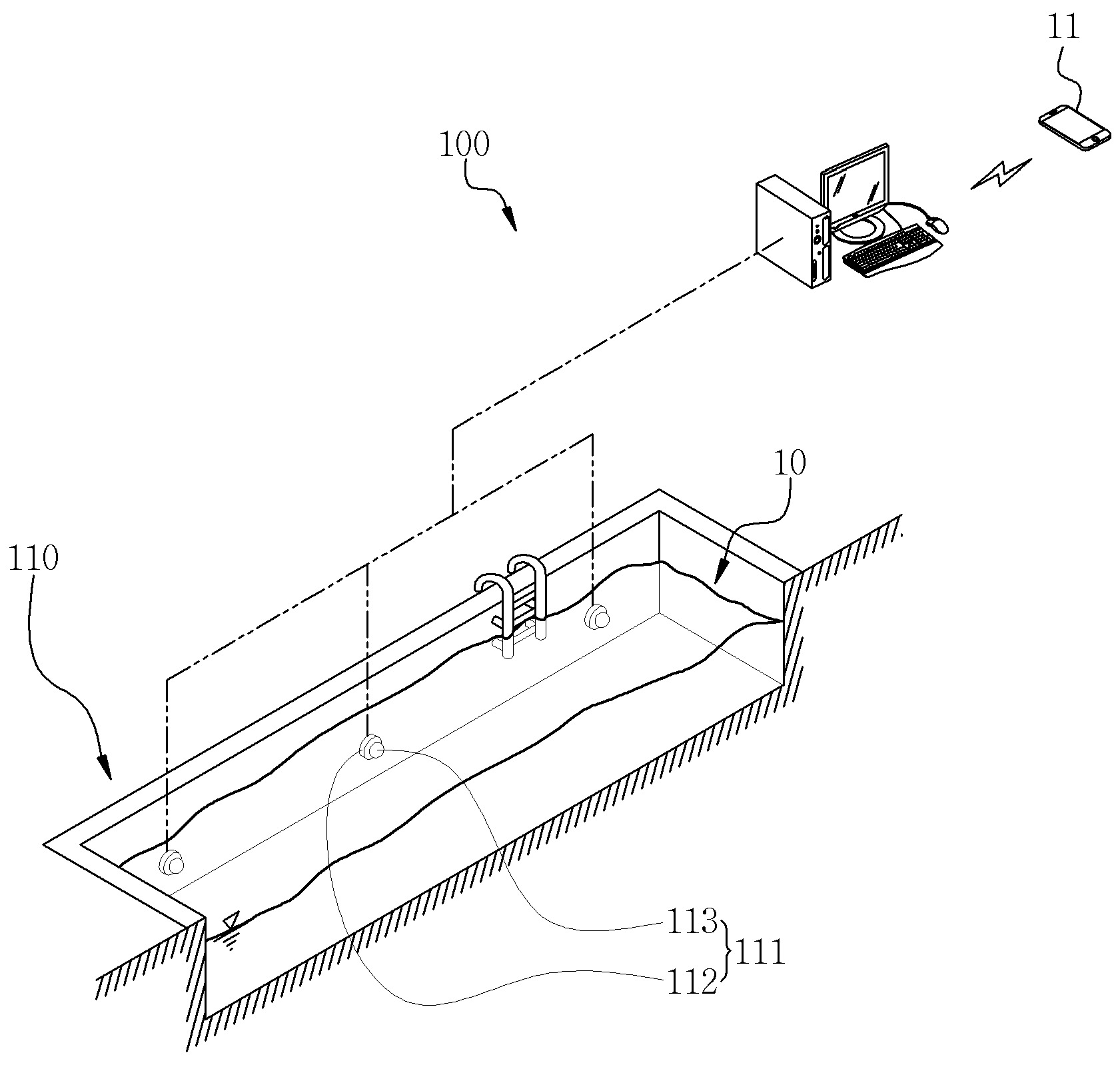
요약 : 본 발명은 수중 카메라를 이용한 안전 감시 시스템에 관한 것으로서, 입수자가 수영하는 수영공간에 세팅되어 상기 입수자를 촬영하는 촬영유닛과, 촬영유닛을 통해 획득된 영상을 토대로 상기 입수자의 신체 움직임을 산출하는 움직임 산출부와, 움직임 산출부에서 제공받은 상기 입수자의 신체 움직임 정보를 토대로 상기 입수자가 익사 진행 상태인지 여부를 판별하는 익사 판별부와, 상기 익사 판별부에서 상기 입수자가 익사 진행 상태로 판별될 경우, 관리자의 단말기로 경고신호를 전송하는 경고알림부를 구비한다. 본 발명에 따른 수중 카메라를 이용한 안전 감시 시스템은 수영공간에 입수한 입수자를 촬영하고, 촬영된 영상으로부터 산출된 입수자의 움직임에 대한 정보를 토대로 익사 진행 상태의 입수자를 판별하여 관리자에게 경고하므로 보다 정확하게 익사 진행 상태의 입수자를 판별할 수 있다는 장점이 있다.





