출원번호 : 10-2014-0020251 (2014년2월21일)
등록번호 : 10-1583906 (2016년01월04일)
특허권자 : 한밭대학교
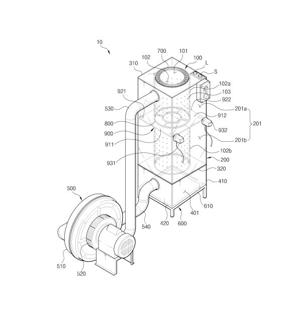
요약 : 본 발명에 의하면, 상단에 우산의 삽입홀이 형성되고, 내측으로 상기 삽입홀과 연통된 건조실이 형성되며, 외주
면에 복수의 관통공이 형성된 내관; 내측으로 상기 내관이 이격되게 삽입되어 상기 내관과의 사이에 이격공간을
형성하는 하우징; 상기 이격공간의 상부와 하부를 각각 차단하도록 상기 내관과 하우징의 각 상단 및 하단에 각
각 결합하는 상판 및 하판; 상기 하우징의 하단에서 하방 연장된 연장하우징; 상기 연장하우징을 지지하고, 상기
연장하우징과 함께 상기 건조실과 연통하는 하부공간을 형성하는 받침부; 상기 이격공간으로 온풍을 공급하고,
공급된 온풍을 상기 하부공간으로부터 회수시켜, 온풍이 상기 각 관통공을 통해 상기 건조실을 유동하도록 하는
온풍 공급 및 회수수단; 상기 건조실에 삽입된 우산으로부터 상기 하부공간으로 낙하되는 수분을 포집하여 외부
로 배출하도록 상기 받침부상에 마련되는 수분배출부; 및 상기 삽입홀에 삽입될 우산을 탄력적으로 지지하도록
상기 내관의 상단에 설치되는 탄성솔을 포함하는 우산 건조장치가 제공된다.
이와 같은 본 발명의 우산 건조장치에 의하면, 우산의 크기별로 각각 건조할 수 있기 때문에, 전력소모를 줄여
비용을 절감할 수 있다.





