우수기술 보러가기
상표 류 해설
특허(바이오)
625–636/874개 결과 표시최신순으로 정렬됨
-
벌크성과 수분흡수율이 증가된 바이오패드의 조성물 및 제조방법
특허(그린 바이오) -
정상압 수두증의 진단 또는 예측용 GDF15 유전자 마커 및 이의 용도
특허(그린 바이오) -
NOX4를 포함하는 간세포암종 진단 또는 예후 예측용 바이오마커 조성물
특허(그린 바이오) -
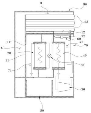
제습기 겸용 히트펌프 타입 건조기
특허(바이오) -
항암치료용 약학 조성물 및 이의 제조방법
특허(바이오) -
기능성 모르타르 조성물
특허(그린 바이오) -
데커신 유도체를 포함하는 CYP4 관련 질환의 예방 또는 치료용 약학 조성물
특허(그린 바이오) -
신규 플로란 화합물, 이를 포함하는 조성물 및 이를 이용한 제품
특허(그린 바이오)












