출원번호 : 10-2015-0028067 (2015년02월27일)
등록번호 : 10-1840871 (2018년03월15일)
특허권자 : 한밭대학교
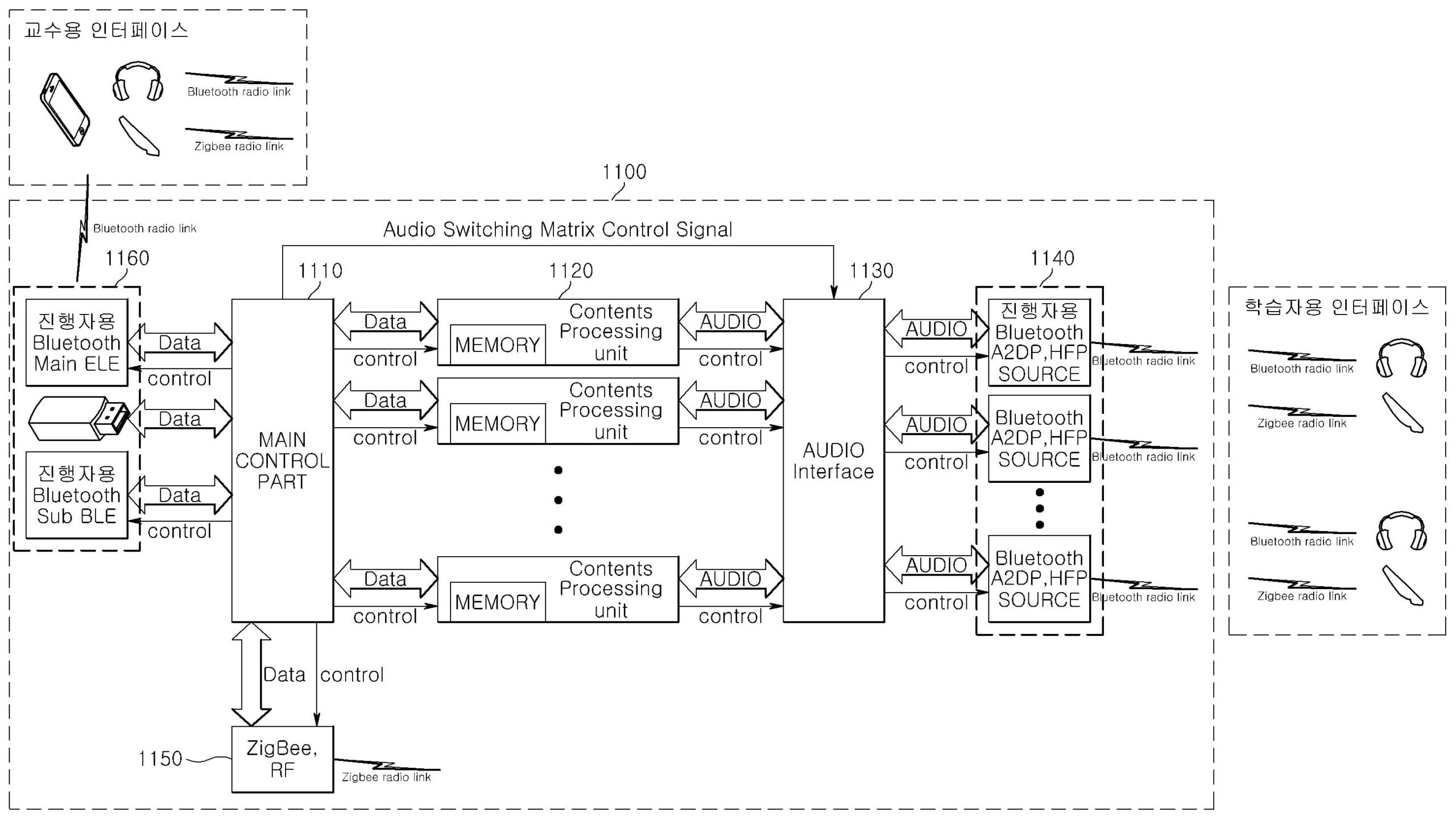
요약 : 본 발명은 개인별 및 그룹별 학습이 가능한 단체 어학 학습 시스템에 관한 것으로서, 보다 구체적으로는 학습 진
행자가 단독 학습자 또는 학습자 그룹을 설정하여 상기 단독 학습자 혹은 학습자 그룹별로 각기 다른 학습 컨텐
츠를 제공할 수 있으며, 또한 각 학습자가 상기 학습 컨텐츠에 대응하는 학습 교재에 인쇄된 미세 부호를 객체
인식(OID) 전자펜을 이용하여 인식시키면, 상기 미세 부호에 대응하는 서브 학습 컨텐츠를 학습자에게 제공함으
로써 인터랙티브(interactive)한 학습을 진행할 수 있는 개인별 및 그룹별 학습이 가능한 단체 어학 학습 시스템
에 관한 것이다.




