출원번호 : 1020110059312 (2011.06.17)
등록번호 : 1011606440000 (2012.06.21)
등록권리자 : 전귀동
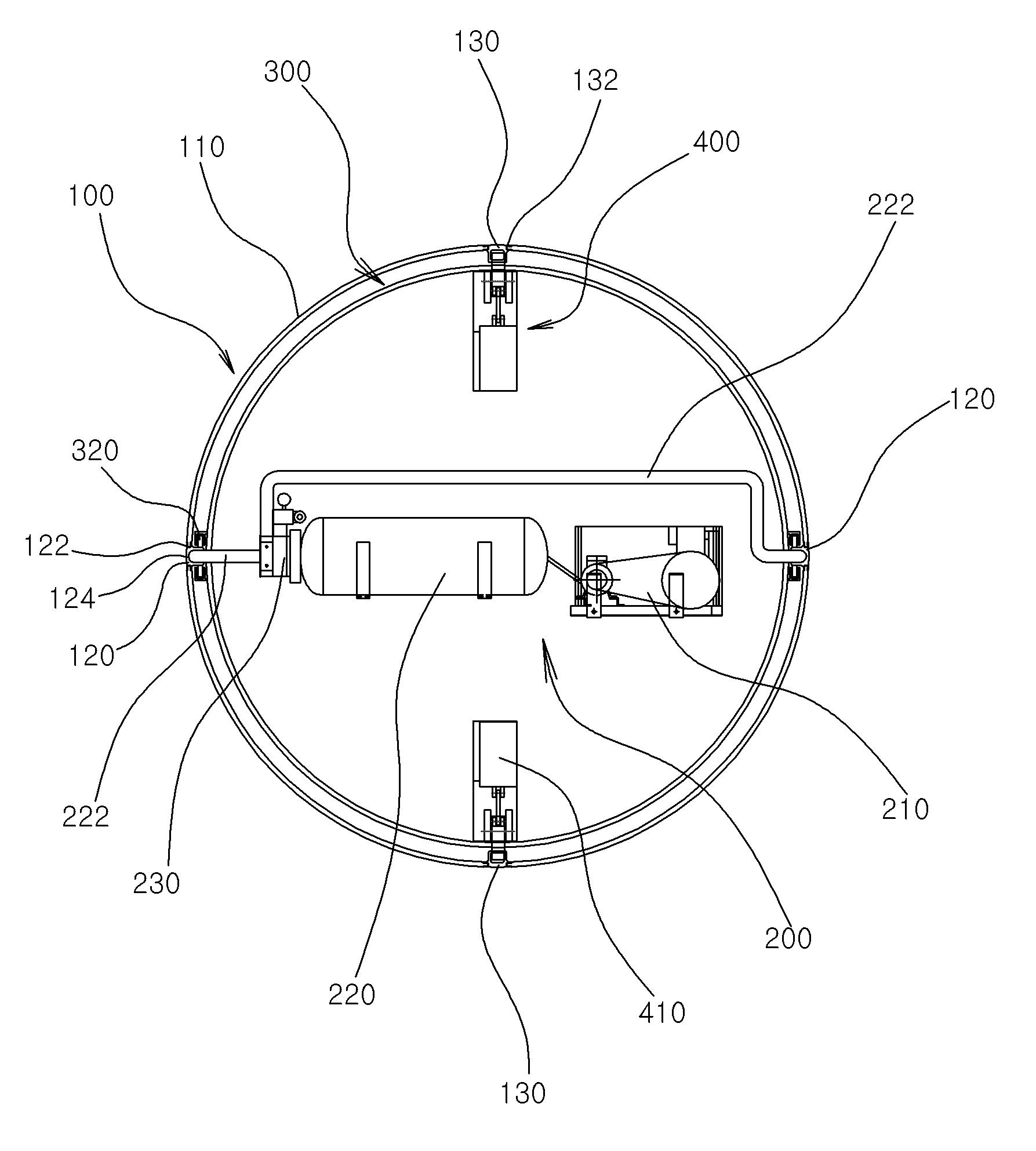
요약 : 본 발명은 일정 직경과 높이를 갖는 원통형의 승강로를 형성하되, 상기 승강로의 상부에는 외부 전원에 의해 소정의 공기압을 발생시키는 구동부를 설치하고, 상기 구동부와 연결된 공급관을 통해 소정의 공기를 승강로 하부로 주입시켜 상기 승강로에 설치된 케이지를 상승 또는 하강시키므로 상기 승강로와 케이지가 실린더 역할을 수행하여 공압이 작용하는 면적이 매우 넓어 저압의 공압으로도 케이지에 탑승한 승객 또는 물건의 층간 이동을 원활하게 할 수 있도록 함으로써, 엘리베이터의 구성부품을 획기적으로 감소시켜 설치시 소요되는 비용 및 공사기간을 단축시켜 경제성을 크게 향상시키고, 전력소모를 최소화하여 에너지의 효율성을 향상시키며, 안전장치의 오작동을 방지하여 엘리베이터 이용에 따른 불편함을 해소할 수 있는 공압을 이용한 엘리베이터를 제공하고자 한다.
1020110059312




