출원번호 : 10-2014-0059971 (2014년05월19일)
등록번호 : 10-1671799 (2016년10월27일)
특허권자 : 한밭대학교
요약 : 본 발명은 에너지 수집 시스템에 관한 것으로서, 보다 구체적으로는 기생 방사소자를 이용하여 전자파
를 송수신하는 안테나에 있어서 주 방사소자의 특성 열화를 억제하면서도 기생 방사소자를 통하여 에너지를 효과
적으로 수집할 수 있는 에너지 수집 시스템에 관한 것이다.
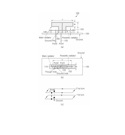
본 발명은 방사 패턴이 방향성을 가지는 주 방사소자; 상기 주 방사소자의 후방에 위치하여 상기 주 방사소자에
서 방사되는 에너지를 수집하는 기생 방사소자; 및 상기 주 방사소자와 기생 방사소자의 하부에 위치하는 접지면
을 포함하여 구성되며, 이때, 상기 기생 방사소자는 1회전 또는 복수의 회전수를 가지는 루프 방사소자인 것을
특징으로 하는 에너지 수집 시스템을 개시하는 효과를 갖는다.





