출원번호 : 10-2017-0012430 (2017.01.26)
등록번호 : 10-17455490000 (2017.06.02)
등록권리자 : IP뱅크
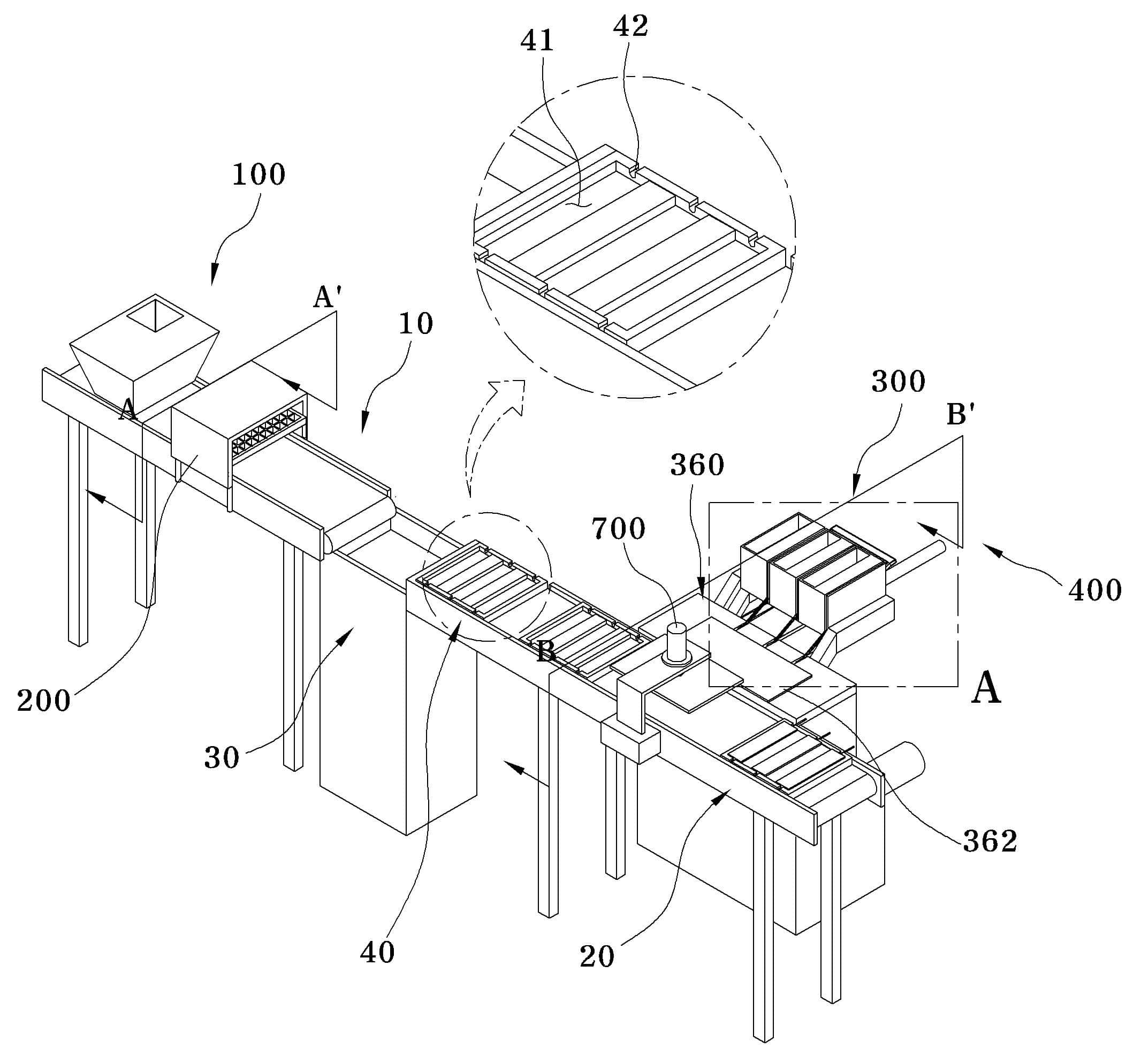
더욱 상세하게는, 격자형태의 칼날부에 의해 절단된 육류조각을 형틀에 수용하고, 형틀에 수용된 육류조각에 꼬치막대가 자동으로 삽입되도록 함에 따라, 제조효율을 향상시킬 수 있는 꼬치 제조 시스템에 관한 것이다.
상기 과제를 해결하기 위한 본 발명의 꼬치 제조 시스템은 육류로 구성되는 대상물을 절단하고, 복수 개의 절단된 육류조각을 하나로 꿰어 꼬치를 제조하기 위한 꼬치 제조 시스템에 있어서, 일측에서 타측으로 이동되는 제 1컨베이어의 상부에 상기 대상물을 공급하도록 구성되는 대상물 공급부; 격자형태로 구성된 칼날부가 상기 컨베이어의 상부에서 상하방향으로 이동되면서 상기 제 1컨베이어에 의해 이송된 대상물을 절단하여 육류조각을 제조하도록 구성되는 절단부; 상기 제 1컨베이어의 타측 끝단에서 일방향으로 연장되도록 배치되며, 상기 육류조각이 수용되는 형틀을 일측에서 타측으로 이송시키는 제 2컨베이어; 상기 제 2컨베이어에 의해 이송된 상기 형틀에 구성된 꼬치막대 삽입구에 대응하여 꼬치막대를 배치시키는 꼬치막대 공급부; 상기 형틀에 수용된 복수 개의 육류조각에 배치된 상기 꼬치막대를 삽입시키는 꼬치막대 삽입부; 및 상기 대상물 공급부, 절단부, 제 1컨베이어, 제 2컨베이어, 꼬치막대 공급부 및 꼬치막대 삽입부의 동작을 제어하는 제어부를 포함하는 것을 특징으로 한다.
1020170012430





