출원번호 : 10-2018-0115959(2018년09월28일)
등록번호 : 10-2070659(2020월01월21일)
특허권자 : 명지대학교 산학협력단
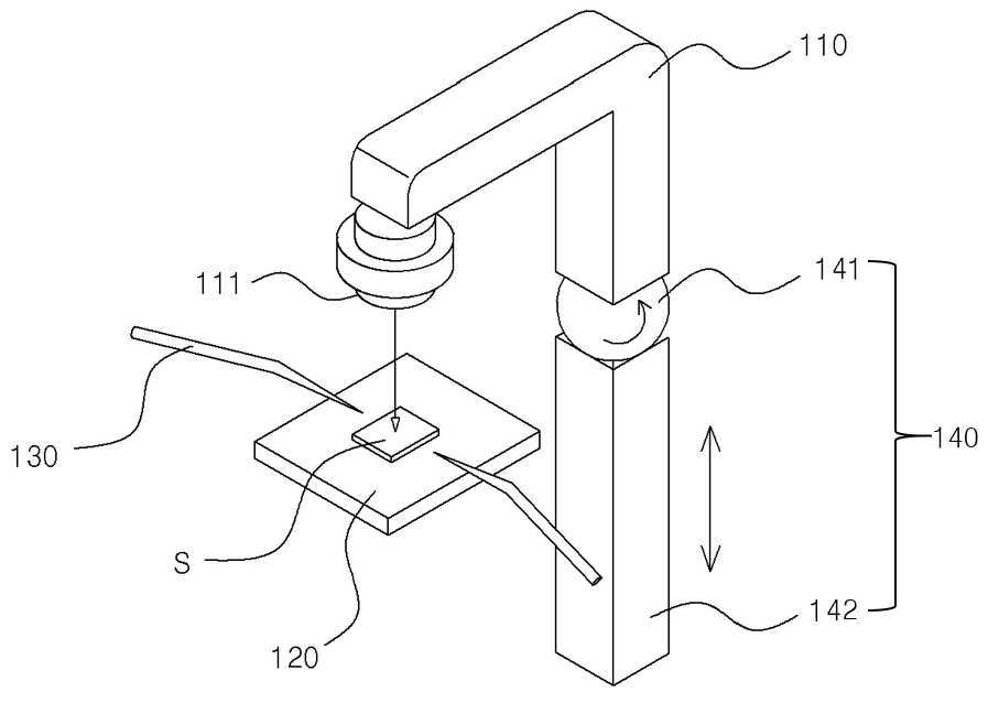
요약 : 본 발명은 나노소자 손상 방지용 프로브스테이션의 광학 현미경 및 이를 이용한 나노소자의 전기적 특성 측정 방법에 관한 것이다. 본 발명에 따르면, 위치조절부가 지지부를 중심으로 관절부를 회전시켜 광학계부를 z축으로 이동이 가능하도록 하여 나노소자와 프로브간의 거리 및 접촉 여부를 정확히 확인함으로써 나노소자의 손상을 방지할 수 있을 뿐만 아니라 나노소자의 전기적 특성 측정 결과에 대한 신뢰도를 향상시킬 수 있다.
1020180115959





