...
,

농약 살포기 Pesticide sprayer

판매 대리인 : 기율특허

전화번호 : 02-782-1004

메일주소 : kiyul@kiyul.co.kr

판매특허요약 : 본 발명은 농약 살포기에 관한 것이다.

가격 : 가격협의

← 뒤로

응답해 주셔서 감사합니다. ✨

SKU: 이점순 카테고리: ,

출원번호 : 1020190108074 (2019.09.02)

등록번호 : 1022935350000 (2021.08.19)

특허권자 : 이점순

요약 :

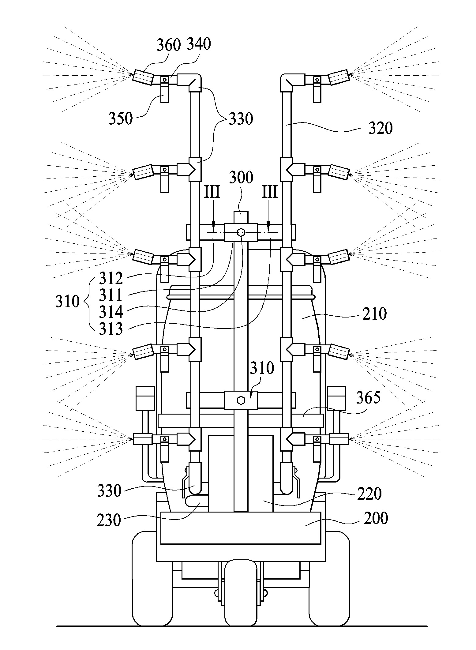
본 발명은 대차에 농약탱크를 싣고 다니면서 농약을 살포하도록 된 농약 살포기에 관한 것이다.

본 발명의 농약 살포기는 대차(100)와, 상기 대차의 후단에 연결된 보조대차(200)와, 상기 보조대차에 탑재된 농약탱크(210)와, 상기 보조대차에 탑재된 펌프(220)와, 상기 보조대차에 설치된 수직지지대(300)와, 상기 수직지지대(300)에 신축가능하게 설치된 수평지지대(310)와, 하단이 상기 농약탱크와 펌프에 연결된 상태로 상기 수평지지대의 양측에 각각 고정된 한 쌍의 수직노즐대(320)와, 상기 수직노즐대에 상하로 이격되게 연결된 복수의 수평분기관(340)과, 상기 수평분기관에 설치된 유량조절밸브(350)와, 상기 수평분기관의 단부에 설치된 분사노즐(360)과, 상기 수직지지대에 고정되어 상기 농약탱크와 펌프가 보조대차로부터 이탈되지 않도록 막아주는 가이드 브라켓(365)을 포함한다.

 

1020190108074