높이 자동조절 베개
출원번호 : 10-2018-0112140 (출원일: 2018-09-19)
등록번호 : 10-2068062 (등록일: 2020-01-14)
특허권자 : 충남대학교산학협력단
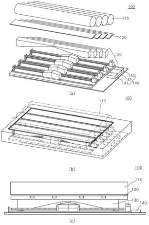
요약 : 본 발명은 높이 자동조절 베개에 관한 것으로, 상기 높이 자동조절 베개는 복수의 쿠션, 센서부, 승강모듈 및 제어부로 구성되어 베개에 가해지는 압력을 측정하며, 측정된 압력 값의 노이즈의 형태로 사용자의 자세를 판단하고, 측정된 압력 값에 의해서 복수의 쿠션의 높이를 직선이송계를 내장한 승강모듈을 이용하여 개별적으로 조절하여 사용자의 자세에 적합한 높이를 제공하여 최적의 수면 환경을 제공할 수 있다.
대표청구항 : 사용자의 머리를 지지하는 복수의 쿠션;상기 복수의 쿠션 하부에 구비되어 상기 복수의 쿠션에 가해지는 압력을 측정하는 복수의 센서부;상기 복수의 쿠션의 높이를 조절하는 복수의 승강모듈; 및상기 복수의 센서부가 측정한 압력 값에 따라 상기 복수의 승강모듈을 제어하는 제어부를 포함하고, 상기 복수의 승강모듈은,상기 복수의 센서부를 지지하고 하부는 빗면의 형상인 복수의 상판;상기 복수의 상판을 지지하고 상부가 빗면 형상인 복수의 승강블록;상기 복수의 승강블록을 지지하는 복수의 LM가이드블록;상기 복수의 LM가이드블록이 끼움 결합되어 상기 높이 자동조절 베개의 너비 방향으로 구비된 복수의 LM가이드레일;상기 복수의 LM가이드블록의 일단에 구비되어 돌출된 복수의 너트;상기 복수의 너트가 나사결합 되고 상기 LM가이드레일과 평행하게 구비된 복수의 볼스크류;상기 복수의 볼스크류 일단에 연결된 복수의 구동모터; 상기 복수의 볼스크류 타단에 구비되어 고정시키는 복수의 베어링하우징; 및 상기 복수의 구동모터, 복수의 베어링하우징 및 복수의 LM가이드레일을 지지하는 밑판을 포함하며, 상기 제어부는, 상기 복수의 센서부가 측정한 압력 값의 노이즈의 형태에 따라서 사용자의 수면자세를 판단하고, 상기 판단된 수면자세에 따라 상기 측정된 압력 값에 의해서 상기 복수의 쿠션의 높이를 개별적으로 조절하는 것을 특징으로 하는 높이 자동조절 베개.
상세링크 : http://newsd.wips.co.kr/wipslink/api/dkrdshtm.wips?skey=3520042000896





