출원번호 : 10-2020-0147320 (2020.11.06)
등록번호 : 10-23502270000 (2022.01.07)
특허권자 : 한남대학교산학협력단
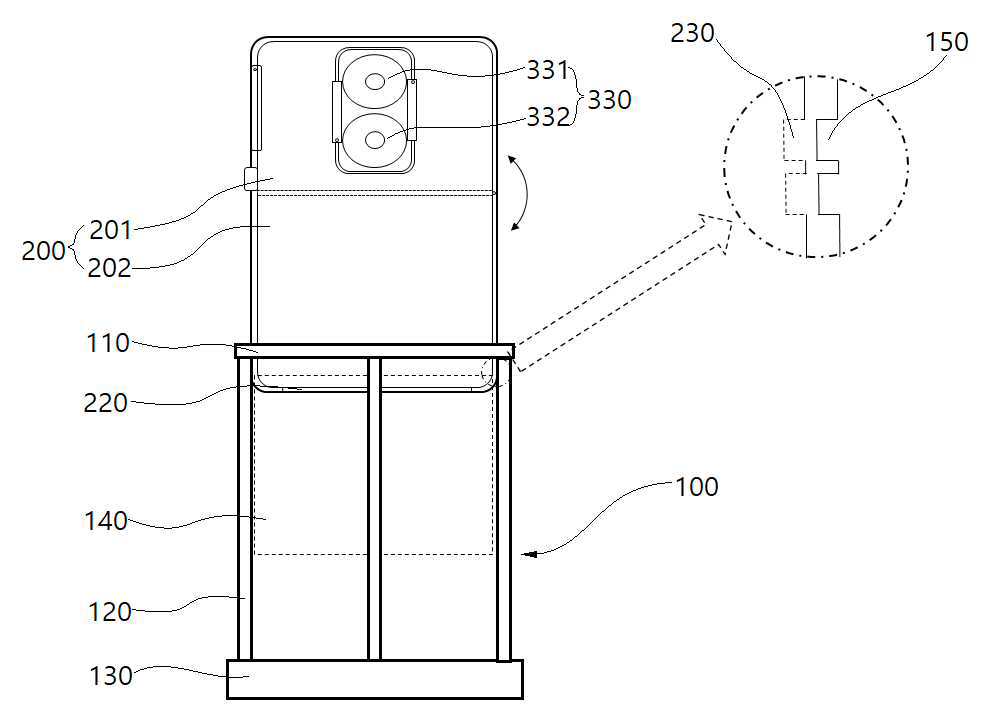
요약 : 본 발명은 다기능 쓰레기통에 관한 것으로 보다 상세하게는, 받침부; 상기 받침부 상부에 안착되고 일측에 개폐도어가 설치되는 쓰레기통 몸체부; 상기 쓰레기통 몸체부의 내측 상부에 상기 개폐도어와 대응되도록 설치되는 압축부; 상기 개폐도어와 상기 압축부를 제어하는 제어부;를 포함하되, 상기 압축부는, 하우징과, 상기 하우징의 내부에 구비되어 모터의 회전에 의해 회전하는 롤러부와, 상기 하우징의 일측에 구비되는 제1악취폐쇄도어와, 상기 하우징의 타측에 구비되는 제2악취폐쇄도어를 포함하는 것을 특징으로 한다.
1020200147320




