다기능 초자세척기
출원번호 : 10-2018-0112688 (출원일: 2018-09-20)
등록번호 : 10-2116288 (등록일: 2020-05-22)
특허권자 : 충남대학교산학협력단
요약 : 본 발명은 다기능 초자 세척기에 관한 것으로, 더 상세하게는 세척봉에 다수의 세척모가 결합된 세척솔을 초자류 내부로 삽입하기 위해 연결되는 주축봉으로부터 분리가능하게 구성하여 초자 형태와 세척용도에 따라 적합한 세척솔을 선택해 주축봉에 결합사용하게 함으로써, 초자류의 세척력을 향상시켜 잔류물에 의한 각종 실험오차를 최소화하여 실험값의 신뢰도를 향상시킬 수 있는 다기능 초자세척기에 관한 것이다.
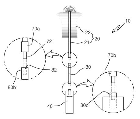
대표청구항 : 초자세척기에 있어서,세척봉(21) 전단부에 세척모(22) 또는 세척블록(23)이 결합되어 회전에 의해 초자 내벽을 문질러 세척이 이루어지고, 후단부에는 수결합부(70a)가 형성된 세척솔(20)과;전단부에 암결합부(80b)가 형성되어 상기 세척솔의 수결합부가 결합되도록 하고, 후단부에는 수결합부(70b)가 형성된 주축봉(30)과;전단에 암결합부(80c)가 형성되어 상기 세척솔 또는 주축봉의 수결합부(70a,70b)가 결합되고, 내부에 모터(42)와 전원부(43)가 위치하여 외부의 스위치(44) 작동으로 암결합부(80c)를 회전시키는 전동수단(41)이 더 구비되는 손잡이(40)와;세척대상인 초자 입구에 장착되어 초자내부로 삽입되는 원형봉체인 세척봉(21) 또는 주축봉(30)이 초자입구에 부딪치는 것을 방지하는 회전지지대(60);로 구성되되, 상기 회전지지대는, 저면에 입구삽입홈(611)이 형성되어 초자입구에 끼워져 결합되는 지지몸체(61)와, 상기 지지몸체의 중심에 축방향으로 관통된 지지통공(62)과, 상기 지지통공의 내면에 3~4개가 등각으로 회전가능하게 설치된 회전볼(63)로 구성되며, 상기 회전볼의 내접원은 세척봉 또는 주축봉의 직경과 대응되는 직경으로 형성하는 것을 특징으로 하는 초자세척기.
상세링크 : http://newsd.wips.co.kr/wipslink/api/dkrdshtm.wips?skey=3520232001105





