다용도 기립 보조테이블
출원번호 : 10-2020-0017492 (출원일: 2020-02-13)
등록번호 : 10-2381738 (등록일: 2022-03-29)
특허권자 : 충남대학교산학협력단
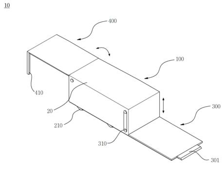
요약 : 본 발명은 다용도 기립 보조테이블에 관한 것으로 보다 상세하게는, 하우징과, 상기 하우징 내부에 설치되고, 상기 하우징을 상하방향으로 승하강시키는 실린더와, 상기 하우징 하부 일측에 설치되되, 상기 실린더와 더불어 승하강되는 시트 및, 상기 하우징 상부 일측에 힌지결합되어 상하방향으로 회동되는 테이블을 포함하는 다용도 기립 보조테이블에 관한 것으로, 지면에 안착되어 거동이 불편한 노약자 또는 환자를 시트에 안착 후 실린더를 통해 기립시킨 후 원하는 방향으로 이동시킴으로써 이동이 용이하고, 하우징 일측에 회동되는 테이블을 설치하여 상기 테이블 상부에 물건의 적재 및 보관할 수 있어 다용도로 활용 가능하며, 시트를 상하방향으로 이동시키는 상하이동유닛과, 시트를 좌우방향으로 이동시키는 좌우이동유닛을 설치하여 노약자 또는 환자를 지면으로 부터 승강시켜 원하는 방향으로 이동이 용이한 효과가 있다.
대표청구항 : 하우징(100);상기 하우징(100) 내부에 설치되고, 상기 하우징(100)을 상하방향으로 승하강시키는 실린더(200);상기 하우징(100) 하부 일측에 설치되되, 상기 실린더(200)와 더불어 승하강되는 시트(300);상기 하우징(100) 상부 일측에 힌지결합되어 상하방향으로 회동되는 보조테이블(400);을 포함하고,상기 보조테이블(400) 일측에 지면과 맞닿는 지지대(410)가 설치되고,상기 시트(300) 일측과 연결되어 상기 시트(300)를 상하방향으로 승하강하는 상하이동유닛(310)이 설치되고,상기 시트(300) 일측과 연결되어 상기 시트(300)를 좌우방향으로 이동하는 좌우이동유닛(320)이 설치되어 좌우로 이동되고,상기 시트(300)의 상부면에 복수의 통풍구(330)가 설치되고, 상기 통풍구(330)의 하부에 송풍팬(340)이 설치되고,상기 하우징(100)의 상부 일측에 힌지결합되어 상하방향으로 회동되는 안전바(110)가 설치되는 것을 특징으로 하는 다용도 기립 보조테이블.
상세링크 : http://newsd.wips.co.kr/wipslink/api/dkrdshtm.wips?skey=3522144000537





