출원번호 : 10-2017-0134747 (2017년10월17일)
등록번호 : 10-2007708 (2019년07월31일)
특허권자 : 한밭대학교
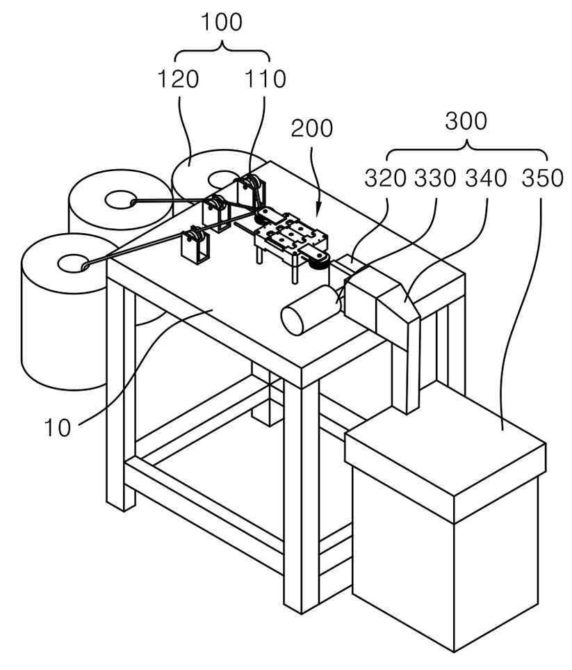
요약 : 본 발명은 대기압 방전 유리섬유 처리장치에 관한 것으로, 유리섬유가 저장된 유리섬유저장부에서 유리섬유를 추
출하여 공급하는 유리섬유공급부와, 내부에는 상기 유리섬유공급부에서 추출된 유리섬유가 통과할 수 있도록 경
로가 형성되고 상기 경로 상부에는 유전체로 감싸인 고전압전극이 구비된 상부플레이트와, 상기 상부플레이트 하
부와 결합되되 상기 경로와 나란히 위치하도록 형성된 가스공급로가 형성되고 상기 경로와 상기 가스공급로 사이
에는 경로 상으로 반응 가스가 빠져 나갈 수 있도록 다수개의 가스홀이 천공된 하부플레이트로 이루어져 대기압
에서 방전이 발생할 수 있는 전극부 및 한 쌍의 롤러 사이로 유리섬유를 통과시켜 상기 전극부를 통과한 유리섬
유를 잡아당길 수 있도록 하되 어느 하나의 롤러 외주면은 일정 간격으로 다수개의 커터가 장착되어 상기 유리섬
유를 일정 간격으로 절단하여 배출할 수 있도록 하는 유리섬유배출부를 포함하는 것을 특징으로 하는 대기압 방
전 유리섬유 처리장치가 제공된다.




