출원번호 : 10-2021-0065394 (2021년05월21일)
등록번호 : 10-2277742 (2021년07월09일)
특허권자 : 김보람
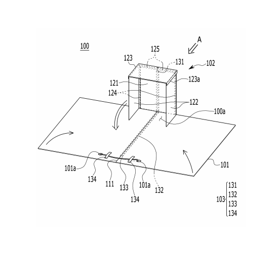
요약 : 본 발명의 일 실시예에 따른 돗자리는, 시트 형태로 이루어지되, 가이드 라인을 따라 접힐 수 있는 몸체; 가이드 라인의 일부에 대응하도록 몸체의 상면에 위치되고, 일측면이 개방된 형태의 보조 공간을 갖는 하우징부; 및 몸체와 하우징부를 연결하고, 몸체가 접히거나 펼쳐질 때 하우징부를 접히거나 펼쳐지도록 하는 구동부를 포함하되, 몸체가 접힌 상태에서 펼쳐질 때, 구동부는 접힌 상태의 하우징부를 펼쳐 몸체의 상면과 직교하도록 위치시키면서 보조 공간을 형성하는 것을 특징으로 할 수 있다.
1020210065394





