출원번호 : 10-2017-0183750 (출원일: 2017-12-29)
등록번호 : 10-2049845 (등록일: 2019-11-22)
특허권자 : 충남대학교산학협력단
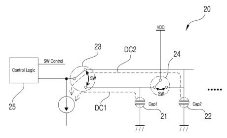
요약 : 본 발명은 라이다용 시간-전압 변환기에 관한 것이다. 본 발명에 라이다용 시간-전압 변환기는 제1 방전 경로를 통해 방전을 수행하는 제1 커패시터; 제2 방전 경로를 통해 방전을 수행하는 제2 커패시터; 상기 제1 커패시터 및 상기 제2 커패시터 중 어느 하나가 선택적으로 방전되도록 상기 제1 방전 경로와 상기 제2 방전 경로를 선택적으로 전환하는 방전스위치; 상기 방전스위치의 작동에 따라 상기 제1 커패시터의 방전이 이루어질 경우에는 상기 제2 커패시터가 충전되도록 하고, 상기 제2 커패시터의 방전이 이루어질 경우에는 상기 제1 커패시터가 충전되도록 전환하는 충전스위치; 및 상기 방전스위치와 상기 충전스위치를 제어하는 컨트롤러; 를 포함한다. 본 발명에 따르면 거리 해상도와 측정 거리를 모두 증가시킬 수 있는 효과가 있다.
대표청구항 : 라이다용 시간-전압 변환기로서,제1 방전 경로를 통해 방전을 수행하는 제1 커패시터;제2 방전 경로를 통해 방전을 수행하는 제2 커패시터;상기 제1 커패시터 및 상기 제2 커패시터 중 어느 하나가 선택적으로 방전되도록 상기 제1 방전 경로와 상기 제2 방전 경로를 선택적으로 전환하는 방전스위치 ― 상기 방전스위치 전환에 의해 상기 제1 방전 경로가 온되면 상기 제2 방전 경로는 오프되고, 상기 제2 방전 경로가 온되면 상기 제1 방전 경로는 오프됨 ―;상기 방전스위치의 작동에 따라 상기 제1 커패시터의 방전이 이루어질 경우에는 상기 제2 커패시터가 충전되도록 하고, 상기 제2 커패시터의 방전이 이루어질 경우에는 상기 제1 커패시터가 충전되도록 전환하는 충전스위치; 및상기 방전스위치와 상기 충전스위치를 제어하는 컨트롤러; 를 포함하는라이다용 시간-전압 변환기.
상세링크 : http://newsd.wips.co.kr/wipslink/api/dkrdshtm.wips?skey=3519484000538




