출원번호 : 10-2018-0147951 (2018년11월27일)
등록번호 : 10-2085532 (2020년03월02일)
특허권자 : 한밭대학교
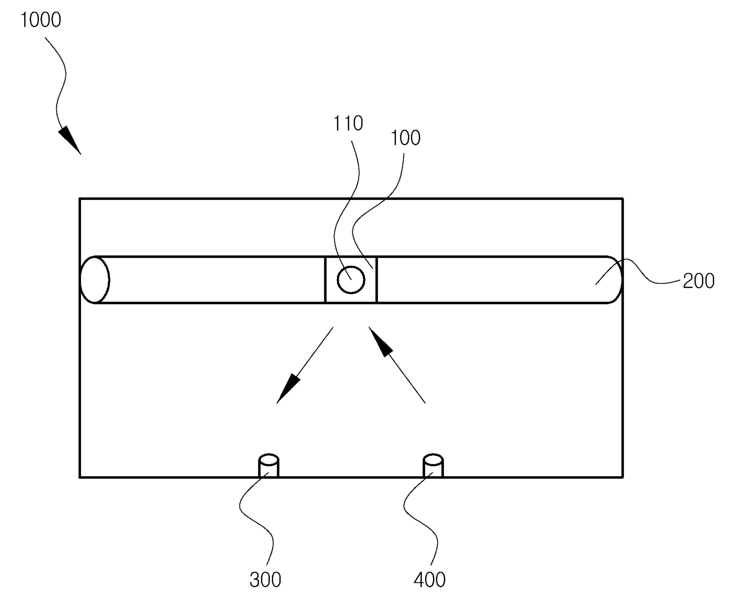
요약 : 본 발명은 산성용액 누출 감지 시스템에 관한 것으로, 상기 배관 연결부의 둘레를 둘러싸도록 부착되어, 상기 배
관 연결부에서 용액이 누출되었는지 검지하는 리트머스 시험지; 상기 리트머스 시험지에 빛을 조사하는 레이저;
상기 레이저가 상기 리트머스 시험지에 조사한 빛을 검출하는 조도센서; 및 상기 조도센서의 신호를 받아 상기
리트머스 시험지의 변색을 감지하는 제어부;를 포함하여 구성된다. 본 발명에 의하면 간단하고 저렴하면서도 산
성용액의 누출을 손쉽게 감지할 수 있는 효과가 있다.





