...
,

링형상부품 검사장치 Inspection device for ring type parts

판매 대리인 : 기율특허

전화번호 : 02-782-1004

메일주소 : kiyul@kiyul.co.kr

판매특허요약 : 본 발명은 링형상부품 검사장치에 관한 것이다.

가격 : 가격협의

← 뒤로

응답해 주셔서 감사합니다. ✨

SKU: (주)유한엔씨아이 카테고리: ,

출원번호 : 10-2015-0038403 (2015년03월19일)

등록번호 : 10-1645865 (2016년07월29일)

특허권자 : (주)유한엔씨아이

요약 : 본 발명은 링형상의 부품의 불량여부를 효과적이고 신속하게 검사하는 검사장치에 관한 것이다.

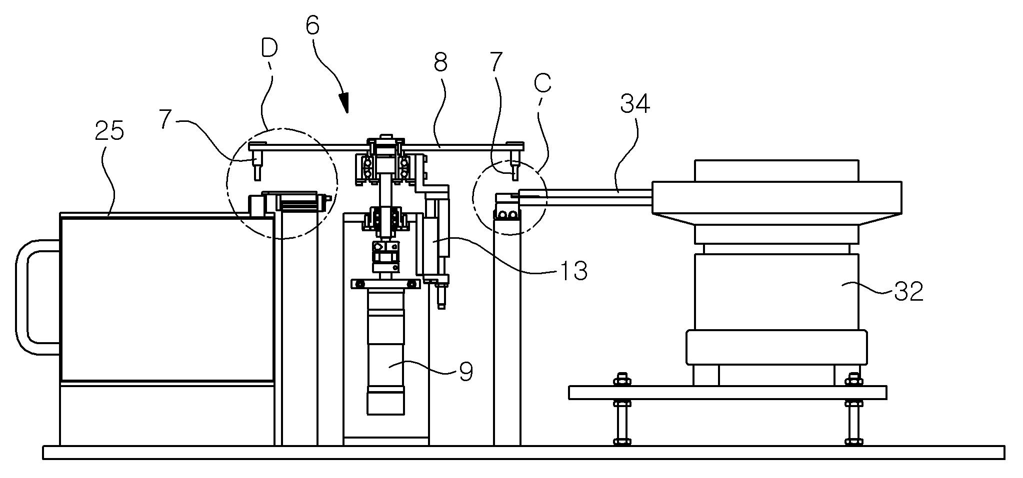
본 발명에 따르면, 링형상부품(1)을 순차적으로 공급하는 부품공급부(4)와, 상기 부품공급부(4)에서 링형상부품(1)의 중앙부에 끼워지는 인서트(7)를 구비하여 링형상부품(1)을 픽업하고 이동하여 내려놓는 픽업부(6)와, 상기 픽업부(6)에 의해 픽업된 링형상부품(1)을 검사하는 검사부(10)와 검사결과에 따라 양품과 불량품을 구분하여 수납하는 수납부(24)를 포함하며, 상기 검사부(10)는 상기 링형상부품(1)이 끼워진 인서트(7)가 출몰가능한 통공(14)의 둘레부 내주면에 경사미러면(16)이 형성된 원추형미러(12)와, 상기 원추형미러(12)의 경사미러면(16)을 촬영하는 카메라부(20)와, 상기 카메라부(20)에서 촬영한 부품의 영상을 수신하여 불량여부를 판단하는 제어부(30)를 포함하는 링형상부품 검사장치가 제공된다.

 

 

1020150038403