출원번호 : 10-2020-0181831 (2020년12월23일)
등록번호 : 10-2370209 (2022년02월28일)
특허권자 : 윤응식, 안재용, 정동하
요약 : 본 발명은 무선 충전식 가열 및 보온 용기에 관한 것으로서, 좀 더 상세하게는 보온병의 내용물을 히터로 가열 및 보온할 수 있고, 특히 보온병의 방수 기능을 강화하여 보온병의 물세척도 가능하며, 배터리는 무선 충전이 가능한 무선 충전식 가열 및 보온 용기에 관한 것이다.
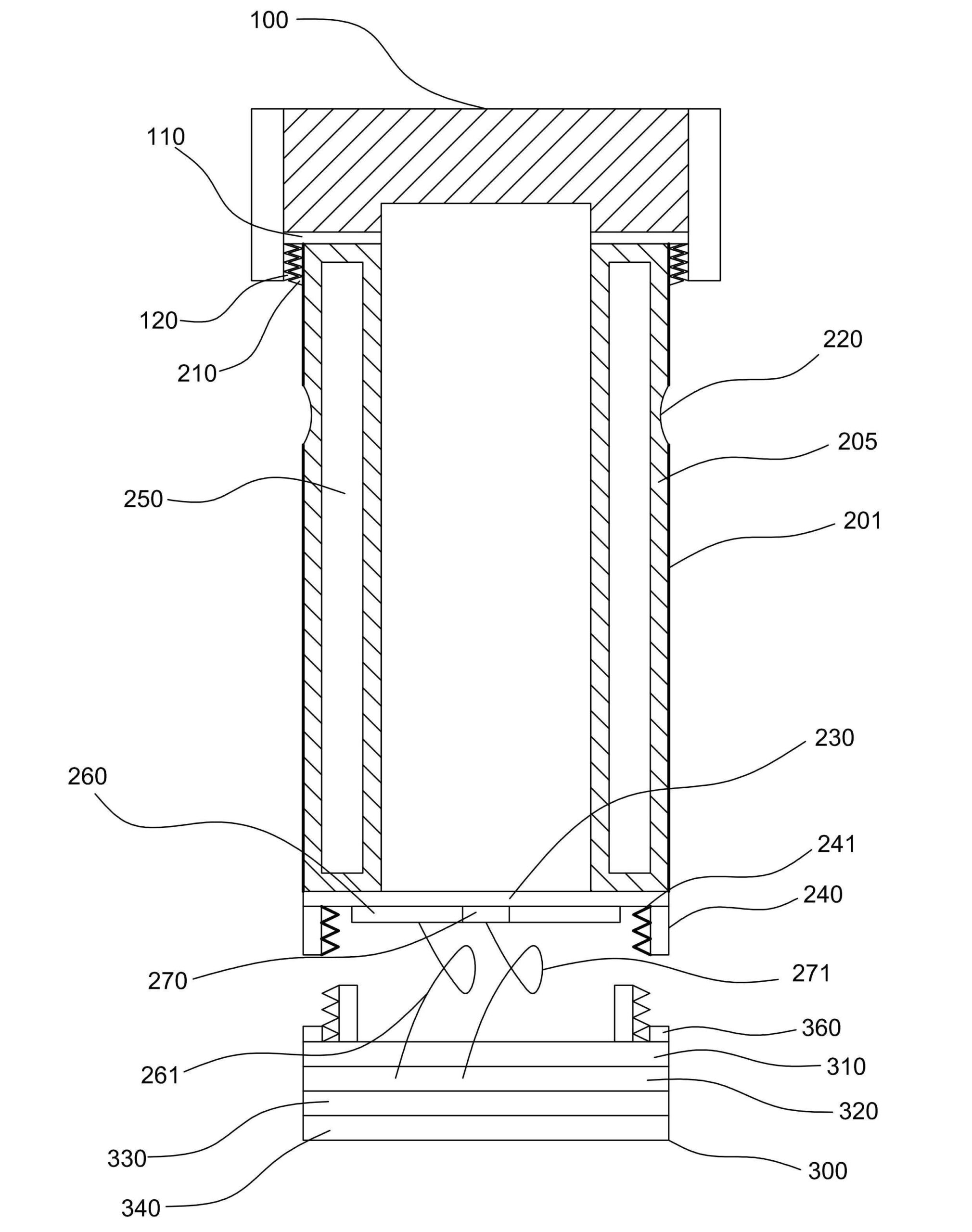
본 발명은 받침대 나사부(350)나 용기 바닥 나사부(240)를 방수코팅층(241)으로 코팅하고 받침대(300)가 용기 몸체부(200) 하부와 접촉하는 부위에는 방수 가스켓(360)을 설치하여 방수 등급 IPx6을 달성토록 함으로써 보온 용기의 물 세척이 가능하여 용기 내부나 외부의 오염을 충분히 제거하는 효과가 있다.
또한 본 발명은 센싱홀(325)이 형성되는 보호필름층(321), 도체라인(326)과 저항라인(327)이 형성된 전도성 라인층(322), 절연성과 방수성을 가지는 베이스 필름층(323), 접착제층(324)이 차례로 적층되는 구조의 방수감지센서(320)를 구비함으로써 무선 충전식 가열 및 보온 용기의 방수 성능이 제대로 유지되는지 감지하고 히터나 전기장치들의 누수로 인한 고장을 방지하는 효과가 있다.
또한 본 발명은 상시 개방형(NO; normal open) 버튼 스위치(PB1)와 상시 폐쇄형(NC; normal close) 버튼 스위치(PB2)를 직렬로 배치하되, 버튼 스위치(PB1)와 버튼 스위치(PB2)의 간격이 1 내지 2cm 정도로 매우 근접하게 배치하여 구성되는 전원 버튼 스위치(400)의 오작동 방지 수단을 구비함으로써 보온 용기의 과열이나 불필요한 전기 소모를 방지하는 효과가 있다.
판매자 설명 : 아웃도어 및 실외용 보온병을 외부전원 없이 가열 및 보온할 수 있도록 만든 아이디어상품.
특히 기존의 제품은 세척이 어려워 위생적으로나 기름기 같이 표면 흡착 물질은 사용할 수 없었으나, 방수가 됨으로 제한없이 사용할 수 있는게 특징입니다.
1020200181831





