출원번호 : 10-2011-0037811 (2011년04월22일)
등록번호 : 10-1257290 (2013년04월17일)
특허권자 : 배재대학교 산학협력단
요약 :
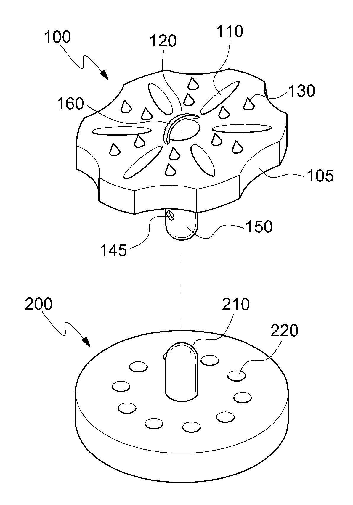
본 발명은 배수구의 내부에 배치되어 이물질의 배수구 내 유입을 차단함과 아울러, 하수의 물 빠짐이 원활하게 이루어지도록 그 구조가 개선된 배수변 구조체에 관한 것이다.
그 구성은 배수구의 내부에 하부가 안착되도록 배치되며 상,하측이 개구된 다수개의 배수공이 형성되는 하부 배수판과, 상기 하부 배수판의 상측에 지지수단을 매개로 회전 가능하게 결합되고 상면이 배수구의 내부에 경사진 각도로 배치되며 상기 배수구 내로 유입되는 물의 흐름을 와류 형태로 변화시켜 회전력을 부여하기 위한 나선형 구조의 물 배출공이 다수개 형성된 상부 배수판으로 구성된다.
이에 따르면, 본 발명은 물의 흐름 형태를 개선하여 물 빠짐이 원활하게 이루어져 배수 효율이 향상됨과 아울러, 상부 배수판의 회전시 머리카락 등과 같은 이물질이 걸러지게 되어 이물질로 인한 물 배출공의 막힘 현상을 줄일 수 있으며 돌출부에 부착된 이물질을 손쉽게 제거할 수 있는 이점을 갖는다.
1020110037811





