출원번호 : 10-2015-0027600 (2015년02월26일)
등록번호 : 10-1613178 (2016년04월11일)
특허권자 : 한밭대학교
요약 : 암석의 입상붕괴에 의한 박리현상을 가시화하기 위해 시간의 경과에 의한 암석의 물리적 특성 변화를 수학적으로
모델링하여 3차원으로 시각화하는 복셀 구조를 이용한 입상붕괴 가시화 방법에 관한 것으로, (a) 암석의 입자를
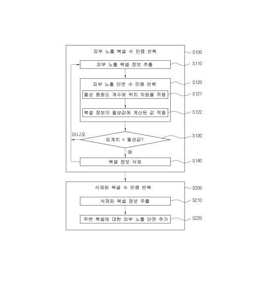
육면체 형태의 복셀로 표현하고, 외부 노출 단면 개수가 1개 이상인 복셀을 추출하는 단계, (b) 상기 단계 (a)에
서 추출된 각각의 복셀에 대해 외부에 노출된 단면의 방향에 따라 가중치를 차등 적용하는 단계, (c) 상기 단계
(a)에서 추출된 복셀들에 대해서 초기 공극률 및 입상붕괴 임계치를 자동으로 부여하여 계산하는 단계, (d) 상기
단계 (c)에서의 계산 결과, 복셀의 계산된 공극률이 입상붕괴 임계치보다 크면 입상붕괴가 이루어진 것으로 판단
하여 해당 복셀을 삭제하는 단계, (e) 계산이 수행되는 동안 입상붕괴로 삭제되는 복셀이 발생하면 주변 복셀에
대해 외부 노출 여부를 판단하는 단계를 포함하는 구성을 마련하여, 다양한 석재로 제작된 석조물의 풍화 현상에
의한 박리 현상을 효과적으로 가시화할 수 있다.




