출원번호 : 10-2021-0139221 (2021년10월19일)
등록번호 : 10-2385784 (2022년 04월 07일)
특허권자 : 김희남, 김지현
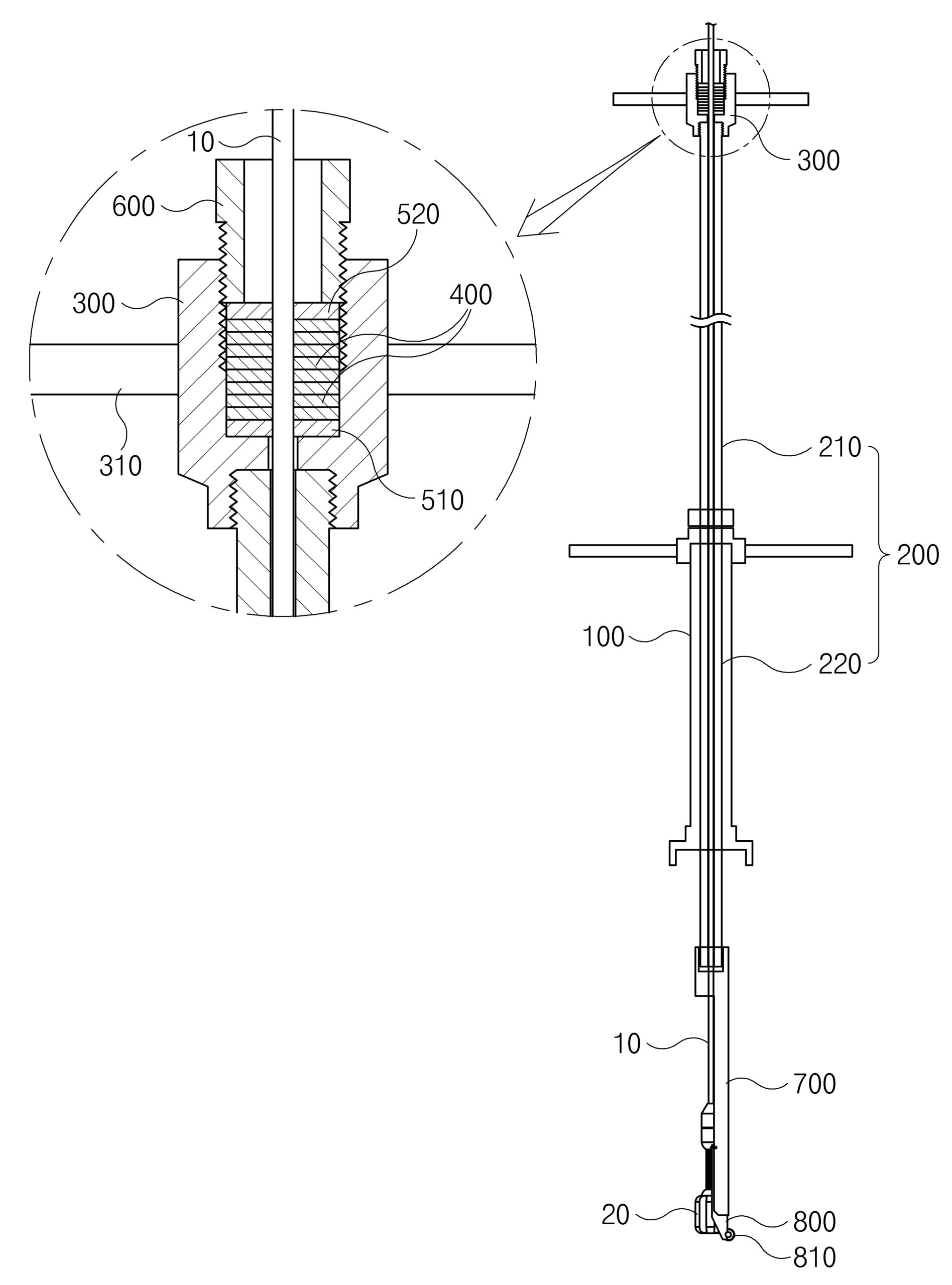
요약 : 본 발명에 의한 부단수 내시경장치는, 조사하고자 하는 관로의 측벽에 설치되는 관로체결유닛; 상측이 지상을 향해 연장되고 하측이 상기 관로체결유닛을 통과한 후 상기 관로 내부로 인입되는 내시경삽입관; 상기 내시경삽입관 내부에 인입되되 상측이 지상으로 인출되고 하측이 상기 관로 내부로 인입되는 내시경케이블; 상기 내시경케이블의 하단에 연결되는 내시경카메라; 상면에 하향으로 오목한 안착홈이 형성되고, 상기 안착홈의 바닥면에는 상기 내시경케이블이 통과할 수 있는 관통공이 형성되며, 상기 내시경삽입관의 상단이 하측에 체결되는 패킹안착블록; 상기 내시경케이블이 끼워맞춤 방식으로 삽입되는 관통홀이 중심부에 형성된원판 형상을 이루되 상기 관통홀부터 외측단까지 연장되는 절개선을 구비하도록 형성되어, 상기 패킹안착블록의 안착홈의 바닥면에 적층되는 다수 개의 패킹; 중공관 형상으로 형성되되, 하측 외측면이 상기 안착홈의 상측 내측면에 하향으로 나사결합되어 하단이 상기 다수 개의 패킹을 하향으로 가압하는 가압볼트;를 포함하여 구성된다.
판매자 설명 : 현재 부단수네시경장치는 11대를 제작한 상태이고 모니터장치는 2대 제작되어 있으며, 기술이전은 완전하게 해드릴 예정입니다(현재 3대는 판매되어 이상없이 동작되고 잘 사용됨).
1020210139221





