출원번호 : 1020190167583 (2019.12.16)
등록번호 : 1022734230000 (2021.06.30)
특허권자 : 김수환
요약 :
본 발명은 부유식 수상지지장치에 대한 것으로서, 더욱 상세하게는 해상구조물이 제자리에서 회전하는 것을 방지할 수 있는 부유식 수상지지장치에 대한 것이다.
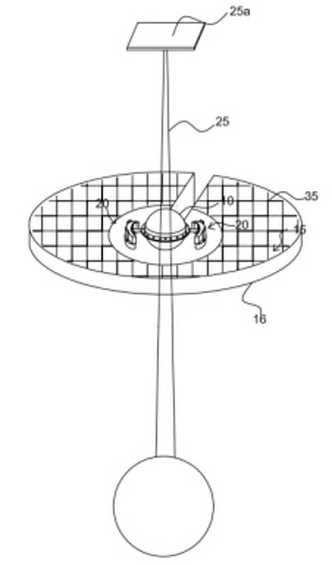
본 발명에 따른 부유식 수상지지장치는 볼과, 물에 떠서 상기 볼이 회전할 수 있게 상기 볼을 지지하는 부유부를 구비한 부유수단과, 일단은 상기 물 위에 노출되어 구조물이 장착될 수 있고 상기 물 속에서 수직으로 세워질 수 있도록 타단이 상기 일단보다 무거우며 상기 볼에 결합된 지지대를 포함한다. 여기서 상기 볼은 상기 지지대를 통과하는 원주면을 따라 가이드홈이 형성된다. 그리고 상기 부유수단은 상기 지지대의 축을 중심으로하는 볼의 회전을 구속하기 위하여 상기 가이드홈에 삽입되는 구속돌기와, 상기 구속돌기를 상기 부유부에 장착시키는 고정부재를 더 구비한다.
본 발명에 의하면, 구속돌기가 볼의 가이드홈에 삽입되므로 볼에 결합된 지지대가 그 중심축을 중심으로 회전되는 것을 방지시킬 수 있다. 그래서 지지대에 풍력발전기가 장착되면 풍력발전기의 축이 바람에 의하여 회전하는 것을 방지시킬 수 있다.
발명자설명 :
한국특허출원명: 부유식 수상지지 장치
사업명: TMD 수평제어 기술이 적용된 반 잠수식-푼톤 복합 해상 건축물
- 국내외 해상도시(예: 해운대, 제주도, 인천, 울산, 마산 여수, 새만금, 홍콩,싱가포르…해상 부유식 신도시 사업 _http://www.ancnews.kr/news/articleView.html?idxno=10896)
TMD 수평제어 기술이 적용된 해상 부유식 스타벅스, 카카오 스크린골프, 골프 존 스크린 골프…
- 사우디 네옴 사업의 OXAGON 부유식 산업단지(https://www.neom.com/en-us/regions/oxagon)
- UN의 기후난민 주거용 부유식 해상도시 사업(https://www.weforum.org/agenda/2022/04/south-korea-floating-city-climate-change/)
창이오션테크(주) www.ocean-tech.co.kr 홈페이지 동영상 참조
Ver 1.0
Korea No: 10-1857949, 10-1971471, 10-213806(Kipris Open) 중국 특허 등록완료_ 특허증 보유
Ver 2.0
10-2273303 / 10-2273423 2건의 특허는 대만 2건 특허증 보유 일본 2건 특허 등록 결정
TMD(Tuned Mass Damper) 수평제어 기술이 적용된 부유식 건축물
Korea No: 10-2273303, 10-2273423(Kipris Open) Taiwan No: 1733315, 1749448
Ver 2.0 2건의 특허 China, Hong Kong, EU, USA, Japan, Australia
New Zealand, Singapore – 출원 중(출원서류 제출 가능)
“해수면 상승 문제, 부유식 해상도시 건설이 답이다”
25일 오후 부산 서면 롯데호텔서 열린 제16회 세계해양포럼에서 ‘해상도시: 해수면 상승에 맞선 화합’을 주제로 기조강연에 나선 해상도시 개발기업 ‘오셔닉스(OCEANIX)’ 설립자 이타이 마타몸베 대표는 부유식 해상 도시 건설의 필요성에 대해 “인류의 해상 거주는 불가피한 문제”라며 이같이 말했다.
부산 해상도시 설계를 주도하고 있는 오셔닉스는 미국 뉴욕에 본사를 둔 블루테크 기업이다. 오셔닉스는 지난해 11월 부산시와 부유식 해상도시 시범모델 건설을 위한 양해각서(MOU) 를 체결한 후, 지난 4월 유엔 본부에서 부산시, 유엔 해비타트(UN-HABITAT·인간정주계획)와 함께 세계 최초의 지속가능한 해상도시 시범모델 ‘오셔닉스 부산’의 디자인을 공개한 바 있다.





