...
,

분리형 화분 Detachable flowerpot

700,000,000

판매 대리인 : 기율특허

전화번호 : 02-782-1004

메일주소 : kiyul@kiyul.co.kr

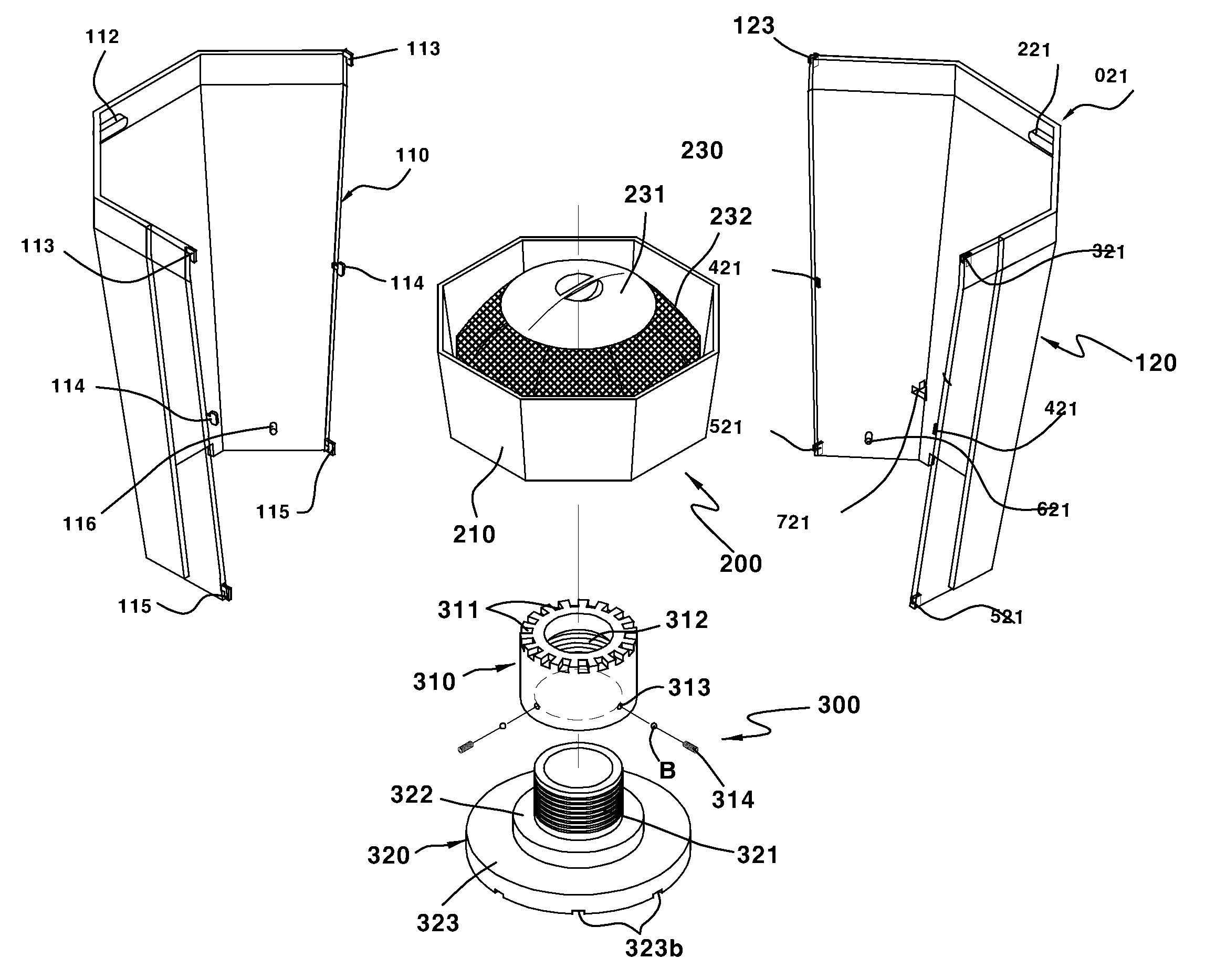
판매특허요약 : 본 발명은 분리형 화분에 관한 것으로서, 좀더 상세하게는 분리형 화분을 개선하여 화분이 놓은 지면으로부터 화분을 일정높이로 위치시켜 분갈이의 편리함을 제공함과 더불어 화분에 식재되어 성장중인 식물(수목)에 지속적인 수분공급기간을 대폭 늘려 발육할 수 있도록 하여 중대형 화분사용에 대한 효율성을 높일 수 있는 분리형 화분에 관한 것이다

가격 : 7억

SKU: 정기성 카테고리: ,

출원번호 : 10-2019-0171667 (2019년12월20일)

등록번호 : 10-2346341 (2021년12월29일)

특허권자 : 정기성

요약 :

본 발명은 분리형 화분에 관한 것으로서, 식물을 식재하도록 제1반조립체와 제2반조립체로 분리가능하게 조합되는 화분본체와, 화분본체 내에 구비되어 수조에 채워진 물로 수분을 효율적으로 공급하여 수분관리가 용이하도록 한 수분공급수단 및 수분공급수단과 함께 화분본체를 받치고, 분갈이 때에는 화분본체를 지면으로부터 간편하게 회전 상승시킨 다음, 화분본체의 제1반조립체와 제2반조립체를 상부에서 순간 가압하면, 용이하게 분리할 수 있기 때문에, 화분본체의 분리 후 분갈이 작업을 좁은 공간에서도 수월하게 진행할 수 있는 효과를 가진다.

1020190171667