출원번호 : 10-2017-0120896 (2017년09월20일)
등록번호 : 10-1950864 (2019년02월15일)
특허권자 : 주식회사 제이앤에이치컴퍼니
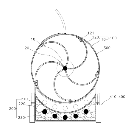
요약 : 본 명세서에서 개시하는 기술은 미생물에 의해서 음식물이 용이하게 분해되도록 하는 상업용 음식물 처리기에 관한 것으로, 대략적으로 음식물과 미생물 및 액체를 혼합시키는 혼합부와 혼합부를 가열하는 가열부, 혼합부의 온도를 측정하는 온도 측정부 및 온도 측정부의 온도에 따라서 혼합부의 온도를 낮추 온도 조절부를 포함한다.
1020170120896




