출원번호 : 10-2020-0032328 (2020.03.17)
등록번호 : 10-23317140000 (2021.11.23)
특허권자 : 한남대학교산학협력단
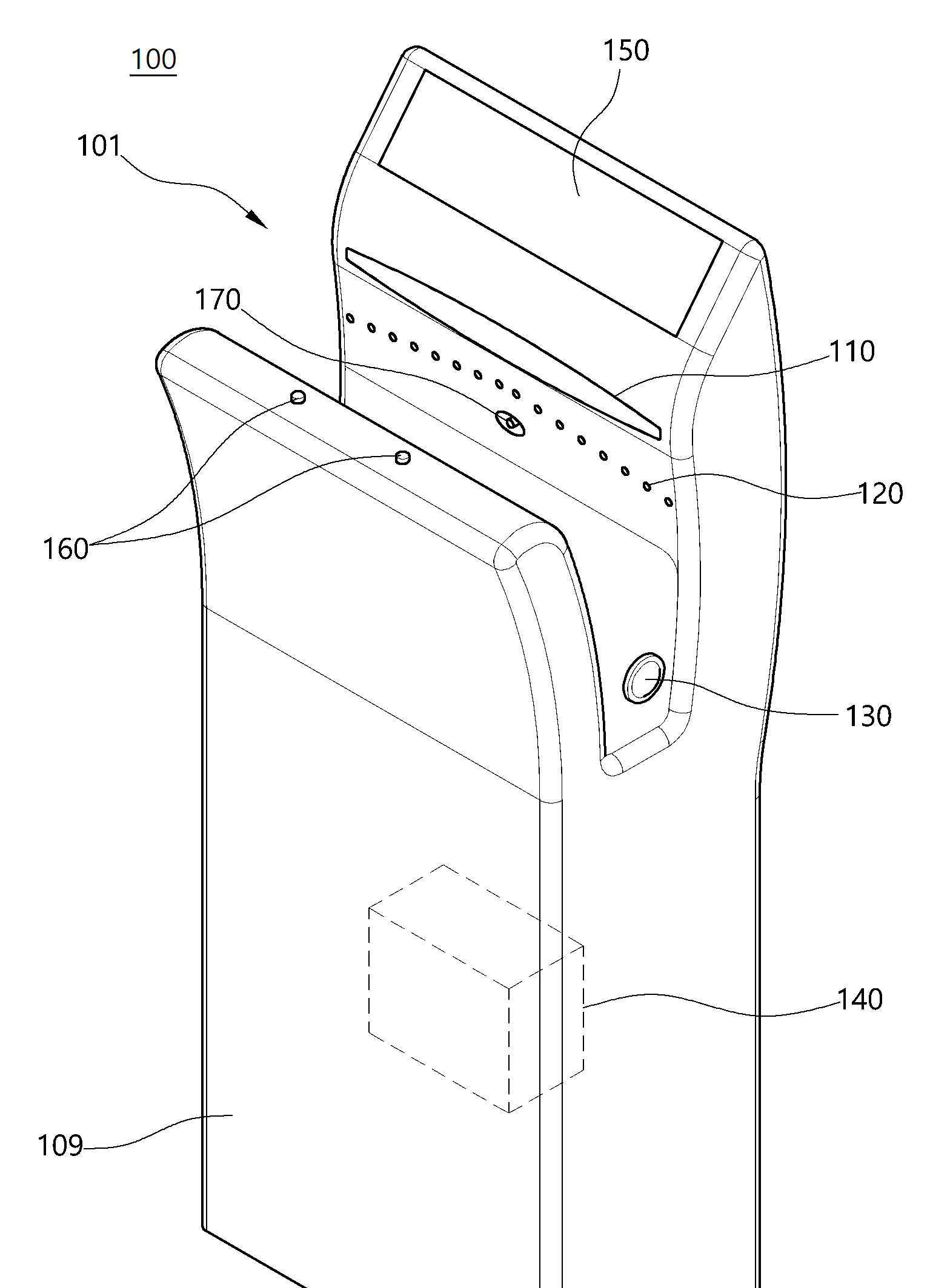
요약 : 본 발명의 일실시 형태에 따르면, 손 거치 영역에 손을 거치시 바람을 토출시켜 손을 건조시키는 손 건조기에 있어서, 상기 거치된 손을 향해 자외선을 방출하는 자외선 발광모듈과, 상기 거치된 손의 표면을 촬영하는 카메라와, 상기 카메라에서 촬영된 정보를 분석하는 분석모듈 및 상기 분석모듈에서 분석된 정보를 표시하는 표시모듈을 포함하는 손 건조기를 제공할 수 있다.
1020200032328





