출원번호 : 10-2016-0136512 (2016년10월20일)
등록번호 : 10-1834206 (2018년02월26일)
특허권자 : 한밭대학교
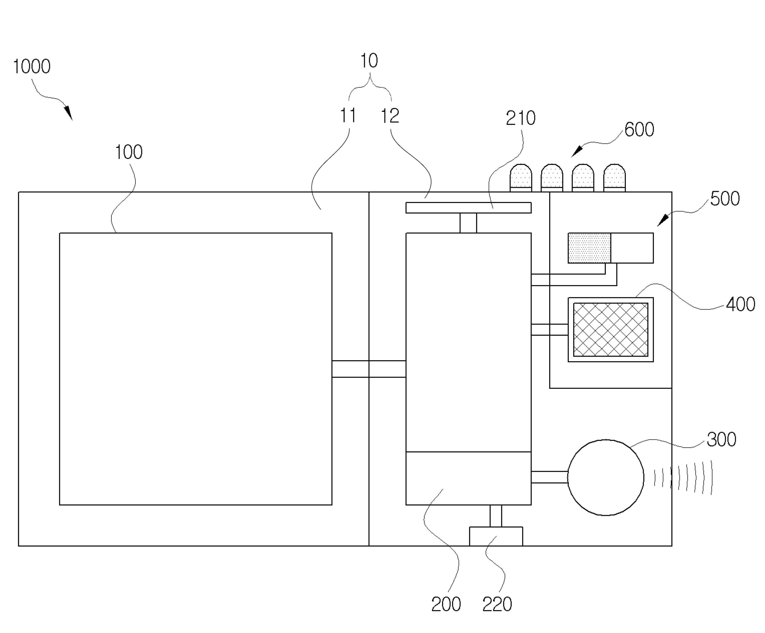
요약 : 본 발명은 수압 측정 경보 장치 및 이를 이용한 경보 시스템에 관한 것으로, 더욱 상세하게는 사용자의 신체 일
부분에 탈착할 수 있는 본체 내부에 수압센서, 제어부 및 통신부를 구비하여, 상기 수압센서에서 측정된 수압이
제어부에서 연산된 기준 수압보다 높은 경우에 외부 장치에 무선 신호를 송출하여 즉각적인 구조가 가능하도록
제공하는 수압 측정 경보 장치 및 이를 이용한 경보 방법이다.





