출원번호 : 1020170016268 (2017.02.06)
등록번호 : 1019415310000 (2019.01.17)
특허권자 : 홍동희
요약 :
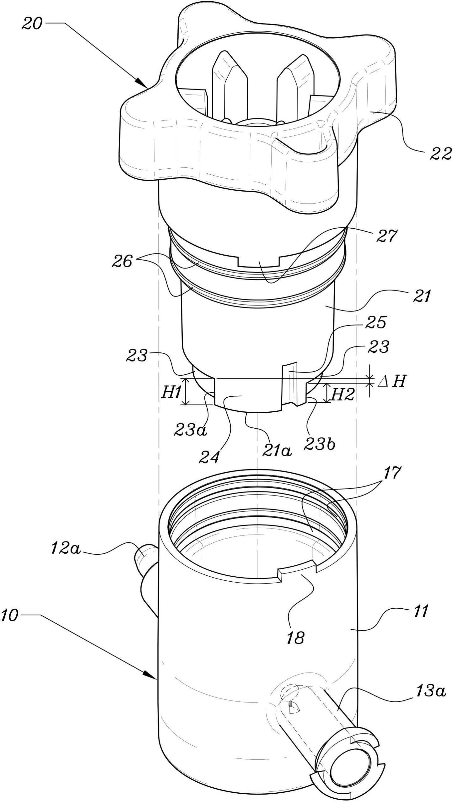
본 발명은 의료용 수액세트의 유량 조절장치에 관한 것으로, 좀더 상세하게 설명하자면, 고정부재와 회전부재가 상하방향으로 결합된 구조로 이루어지고, 상기 고정부재는 원통형 하우징과, 상기 하우징의 양측에 관통된 유입공 및 배출공과, 상기 하우징의 하단 내부에 구비된 바닥판과, 상기 배출공에서 상기 바닥판을 향하여 하방으로 함몰된 유량조절홈을 포함하여, 상기 회전부재는 상기 하우징 속에 밀착상태로 회전가능하게 삽입된 삽입부와, 상기 삽입부에서 연장되어 상기 하우징 위로 돌출되는 핸들부와, 상기 삽입부의 하단부에 둘레방향을 따라 일정한 두께로 외경이 절삭된 유량조절턱을 포함하여 구성되는 수액세트용 유량 조절장치에 관한 것이다.
1020170016268





