출원번호 : 10-2015-0148242 (2015.10.23)
등록번호 : 10-17217750000 (2017.03.24)
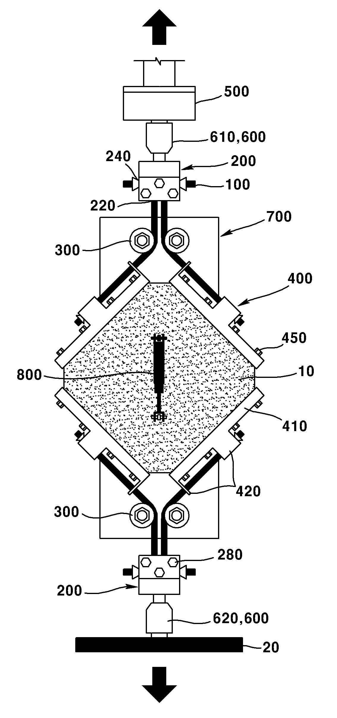
요약 : 본 발명은 순수전단 시험장치에 관한 것으로, 순수전단 시험장치는 전단력의 시험 대상이 되는 시험체에 인장력을 가하는 와이어로프, 상기 와이어로프의 일단을 고정하는 와이어로프 고정부, 상기 시험체와 결합하며 상기 와이어로프의 타단을 고정하는 로딩 플레이트부, 상기 와이어로프 고정부와 상기 로딩 플레이트부 사이에 위치하며 상기 와이어로프를 상기 시험체의 면과 평행이 되도록 벤딩하는 롤러볼트부를 포함하며, 상기 로딩 플레이트부는 상기 시험체의 면에 접하여 상기 시험체에 와이어로프의 인장력을 가할 수 있다.





