출원번호 : 10-2020-0039570 (2020년04월01일)
등록번호 : 10-2375123 (2022년03월11일)
특허권자 : 김태중
요약 : 본 발명은 전자접촉기에 관한 것으로, 특히 3상 전동기의 결선방식을 스타방식에서 델타방식으로 신속하고 안전하게 절환시키며 그 결선회로 및 개폐장치 구성을 간소화시킬 수 있는 스타 델타 운전용 전자접촉기에 관한 것이다.
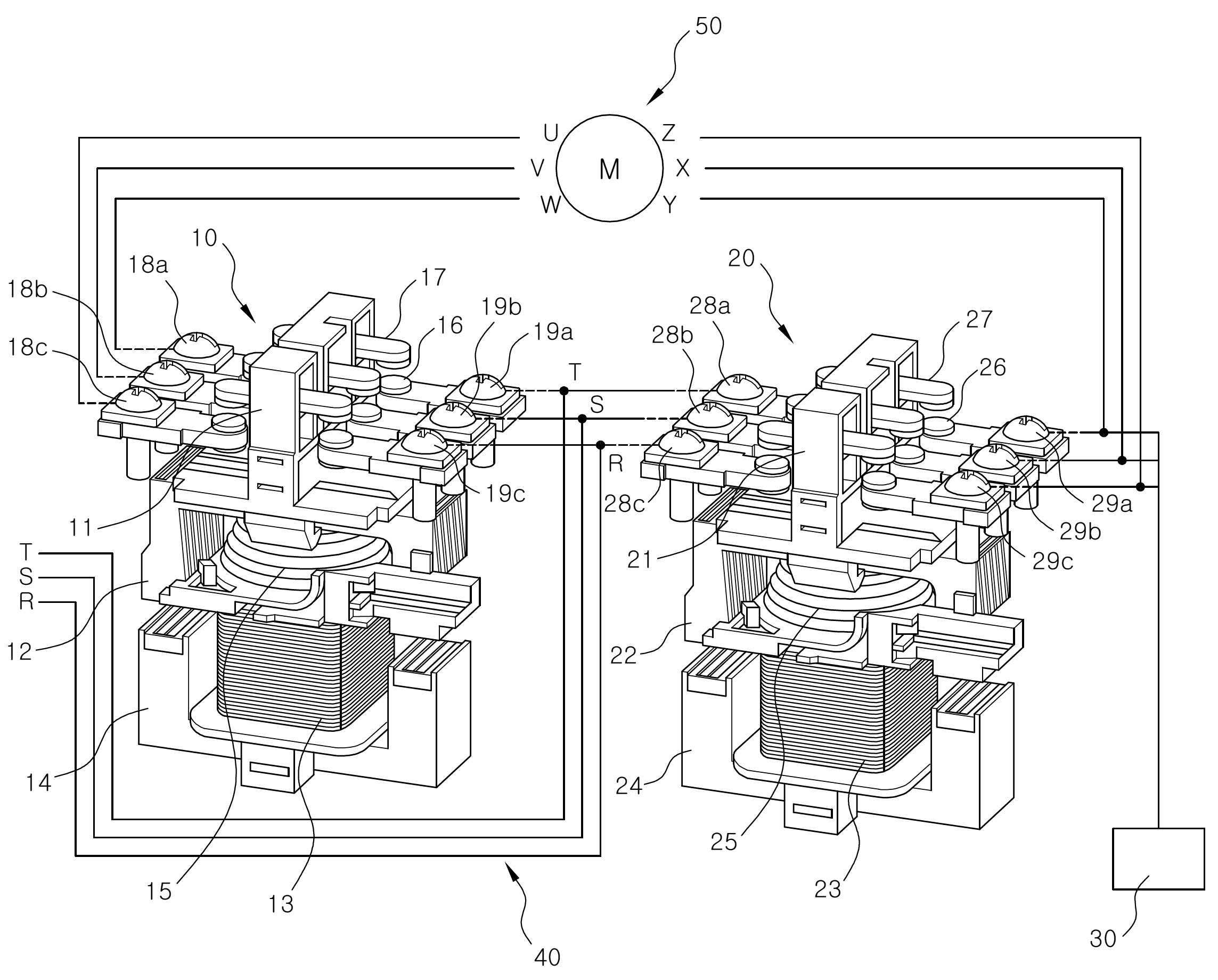
종래의 전자접촉기는 시공단계에서 결선이 어렵고 유지보수를 위해서는 작업시간이 많이 소요되는 문제점이 있는 바, 이를 개선하기 위해 본 발명은 주회로 개폐용 MCM과 델타결선 운전용 MCD는 각각 상부프레임과 하부프레임으로 형성되는 내부공간에 설치된 크로스바와, 상기 크로스바의 하부에 연결된 가동코어와, 상기 가동코어)의 하측으로 소정간격 떨어져 설치된 고정코어와, 상기 고정코어에 설치되는 동작코일과, 가동코어의 내측에는 설치된 백스프링을 포함하여 이루어지며, 상기 크로스바의 상부에는 가동접점이 설치되어 고정접점과 전기적으로 접촉하도록 구성되는 전자접촉기에 있어서, MCM(Magnetic Contactor Main)은 전동기의 일측단자(U/V/W)에 전기적으로 연결되는 제1기동단자 및 MCD(Magnetic Contactor Delta)에 전기적으로 연결되는 제1연결단자가 구비되고, MCD(Magnetic Contactor Delta)는 MCM에 전기적으로 연결되는 제2연결단자 및 전동기의 타측단자(X/Y/Z)와 Y결선 기동용 MCY(Magnetic Contactor Y)에 전기적으로 연결되는 제2기동단자가 구비되며, 상기 MCM의 제1연결단자와 MCD의 제2연결단자는 메인전원의 전원공급선에 연결되는 공통접점(Common)을 형성하고, 상기 전동기의 타측단자(X/Y/Z)는 Y결선 기동용 MCY(Magnetic Contactor Y)의 각 단자와 공통접점(Common)으로 연결되며, 상기 MCM 및 MCD에 연결되는 메인전원의 전원공급선은 3개의 R/S/T 전원공급용 부스바 방식의 절연 통전판에 의해 구성되고, 상기 절연 통전판은 메인전원의 ‘T’에 연결되는 ST단자와 MCD에 연결되는 제1단자 및 MCM에 연결되는 제2단자; 메인전원의 ‘S’에 연결되는 SS단자와 MCD에 연결되는 제1단자 및 MCM에 연결되는 제2단자; 메인전원의 ‘R’에 연결되는 SR단자와 MCD에 연결되는 제1단자 및 MCM에 연결되는 제2단자를 포함하며, 주회로 배선을 용이하게 설치할 수 있도록 MCM과 MCD는 상호 대칭구조를 이루며, 절연 통전판은 제1연결단자와 제2연결단자1의 연결부분에서 상기 소정 각도로 꺾여질 수 있도록 굴곡부가 구비되어, 전자 접촉기의 하단을 통과하여 각각 MCM의 제1연결단자와 MCD의 제2연결단자에 체결되는 것을 특징을 하는 스타 델타 운전용 전자접촉기를 제안한다.
따라서, 본 발명에 의한 스타 델타 운전용 전자접촉기는 3상 전동기의 결선방식을 스타방식에서 델타방식으로 신속하고 안전하게 절환시키며 그 전원공급 전원의 결선회로 및 제어회로의 구성 그리고 마그네트 스위치 구성을 간소화함으로써, 제품의 소형 경량화 및 동력 배선 및 제어회로 배선의 가닥수를 줄여 공간을 절약할 수 있는 효과가 있다.
또한, 타이머와 보조접점을 사용하여 스타 델타간의 마그네틱스위치에 인터록을 실시하여 작업자의 편의성과 공사시간을 단축할 수 있으며, 타이머 베이스 및 제어장치가 제작품 상태에서 기성되어 있기 때문에 사용이 간편하고 제어장치에서의 오결선이 발생할 위험이 거의 없어서 공사현장의 시공작업자 및 일반사용자의 안전과 운전 구성품 및 회로 보호가 개선되는 효과가 있다.
1020200039570





