출원번호 : 10-2014-0057141 (2014.05.13)
등록번호 : 10-15373810000 (2015.07.10)
등록권리자 : IP뱅크
본 발명은 스프링백 보정이 가능한 금형장치에 관한 것으로, 그 목적은 펀치의 교체없이 소재에 발생된 스프링백을 보정시킬 수 있는 스프링백 보정이 가능한 금형장치를 제공하는 것이다.
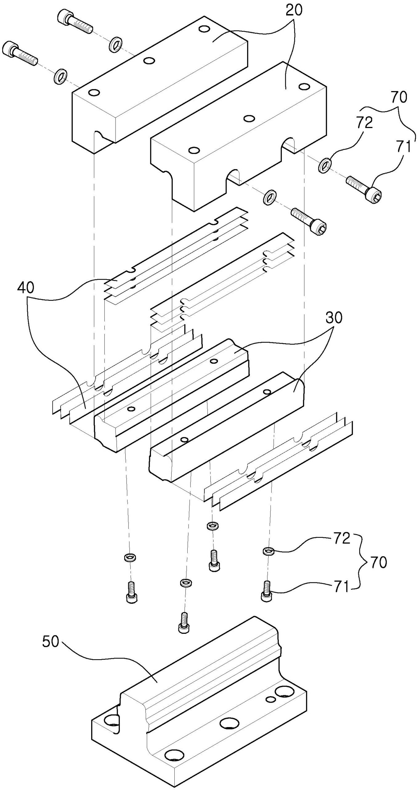
본 발명은 프레스에 연결설치되는 상형과, 상기 상형에 연결설치되고 하단 모서리에 체결홈이 형성된 어퍼블록과, 상기 어퍼블록의 체결홈내로 삽입되어 볼트체결되고 일측에 형성된 성형면이 소재에 접촉되어 소재를 가압보정하는 펀치와, 상기 어퍼블록과 펀치 사이에 위치하도록 체결홈내에 끼움설치되는 복수의 심플레이트와, 상기 하형에 연결설치되고 소재가 놓여지는 로우스틸을 포함하되,
상기 어퍼블록의 체결홈(10)의 상단일측에는 체결홈과 연통되도록 축홈이 형성되고, 상기 펀치의 상단일측에는 축홈내로 삽입되는 회전둔턱이 형성되며,
상기 어퍼블록과 펀치 사이에 끼움설치되는 복수의 심플레이트에 의해 축홈내로 삽입된 회전둔턱을 중심으로 펀치의 성형면 각도가 조절되어, 펀치의 교체없이 스프링백에 대한 보정량이 확보되도록 되어 있다.
1020140057141




