출원번호 : 10-2012-0131851 (2012.11.20)
등록번호 : 10-12809630000 (2013.06.26)
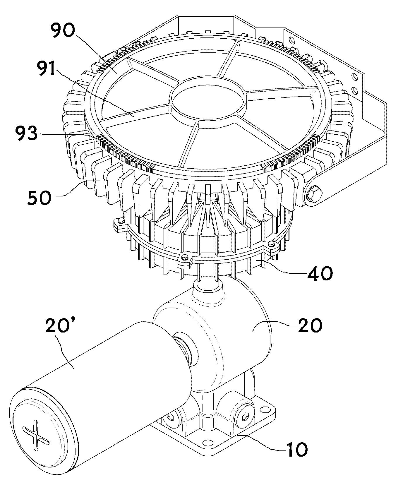
요약 : 본 발명은 엘이디 내압 방폭등에 관한 것으로, 거치대(10)와; 마운팅 박스(20)와; 스틸 파이프(30)와; LED 모듈 구동용 전원장치 케이스(40)와; 본체(50)와; LED가 실장되어 상기 본체(50)의 내부 윗면에 부착 장착되는 LED 모듈(60)과; 상기 본체(50) 내에 장착되어 LED의 빛을 반사시키는 반사판(70)과; 상기 본체(50) 내외부의 방열을 견디도록 상기 반사판(70) 아래에 삽입되는 유리 지지용 브라켓(80′)과; 상기 브라켓(80′)에 장착되어 상기 반사판(70)을 보호하는 강화유리(80) 및; 상기 본체(50)의 하부 내측면에 나사 결합되어 상기 반사판(70)과 브라켓(80′) 및 강화유리(80)를 지지하는 유리커버(90)로 구성되어 LED를 사용하여 메탈등에 비하여 60% 전력 절감 효과를 나타낸다.





