출원번호 : 1020110140274 (2011.12.22)
등록번호 : 1012897190000 (2013.07.19)
특허권자 : (주)지니아텍
요약 :
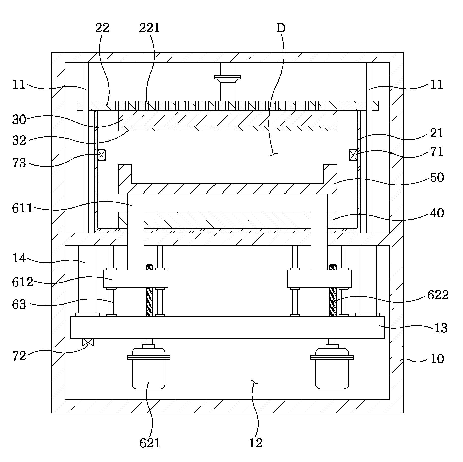
본 발명은 유기발광다이오드(LED, Light Emitting Diode)에 사용되는 증착용 마스크의 세정장치에 관한 것이다.
본 발명의 실시예에 따르면, 동력발생부를 설치하여 증착용 마스크를 승강시켜 증착용 마스크와 상부전극 사이의 거리를 조절함으로써 플라즈마 방전이 용이하게 일어나 증착용 마스크의 세척 효과가 우수해지는 효과를 갖는다. 또한, 상부전극에 복수의 공기홀을 형성하여 상부전극의 일면에 전체적으로 플라즈마 방전을 위한 반응가스가 주입되어 플라즈마 방전이 상부전극 일면에서 골고루 발생할 수 있도록 한다.





