출원번호 : 10-2014-0052708 (2014년04월30일)
등록번호 : 10-1645280 (2016년07월28일)
특허권자 : 한경대학교 산학협력단
요약 :
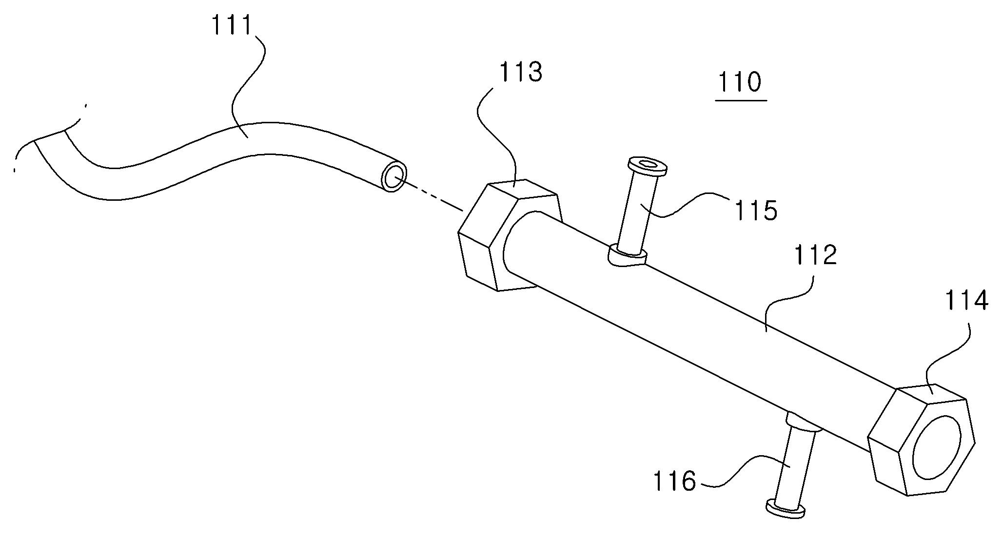
본 발명의 일실시예에 따른 유사이동층 장치는 다수의 흡착 컬럼 및 상기 흡착 컬럼 사이에 연결 구비된 연결 구조체를 포함한다.
본 발명의 실시예에 따른 유사이동층 장치의 탈기 방법은 연결 구조체를 이용한 탈기 모드를 통해, 흐름 구역별 압력 불균형을 최소화하고 밸브 스위치에 따른 압력 교란을 감소시켜, 장치 내의 차압을 완충하며 유량을 용이하게 조절할 수 있는 효과가 있다.





