출원번호 : 10-2016-0134820 (2016년10월18일)
등록번호 : 10-1785949 (2017년10월10일)
특허권자 : 명지대학교 산학협력단
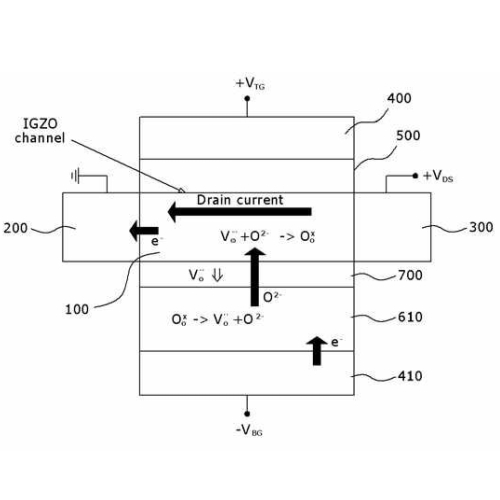
요약 : 본 발명은 새로운 형태의 트랜지스터 소자에 관한 것으로, 반도체층; 상기 반도체층에 접하고 서로 이격된 소스 전극과 드레인 전극; 상기 반도체층의 일면에 형성된 게이트 절연막; 상기 게이트 절연막에 접하여 형성된 게이트 전극; 상기 반도체층의 상기 게이트 절연막이 형성된 반대면에 형성된 특성변화 유도층; 및 상기 특성변화 유도층에 접하여 형성된 제2 게이트 전극을 포함하여 구성되며, 상기 제2 게이트 전극에 인가된 전압에 의해서, 상기 특성변화 유도층과 상기 반도체층 사이에 이온이 이동하거나 상기 특성변화 유도층 내부에 이온 분포에 변화가 발생하여, 상기 반도체층의 물리적 특성이 변하는 것을 특징으로 한다.
본 발명은, 별도의 제2 게이트 전극을 구비하고 제2 게이트 전극에 인가된 전압에 의해서 반도체층의 물리적 특성 자체가 변화함으로써, 반도체층의 물리적 특성 자체를 변화시킬 수 있는 새로운 형태의 트랜지스터 소자를 제공할 수 있는 효과가 있다. 또한, 본 발명의 트랜지스터 소자는 반도체층의 물리적 특성의 변화가 시냅스의 학습과 신호처리 방식과 매우 유사하여, 시냅스와 같은 거동을 수행하는 시냅틱 트랜지스터 소자를 제공할 수 있는 뛰어난 효과가 있다.
1020160134820





