출원번호 : 1020180139262 (2018.11.13)
등록번호 : 1021762940000 (2020.11.03)
특허권자 : 정승찬
요약 :
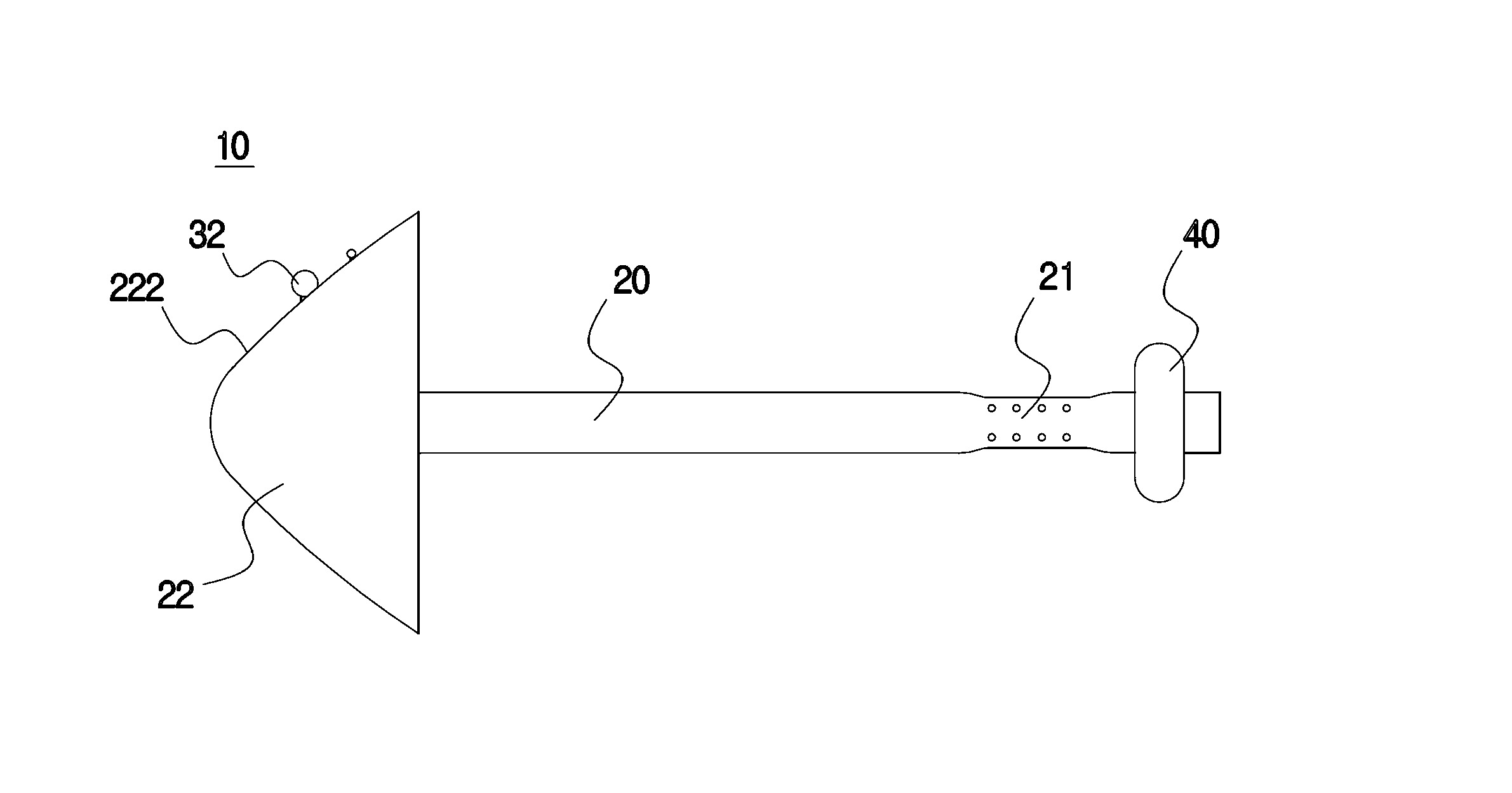
본 발명은 입식 배뇨기능을 갖는 버튼 제어식 도뇨관에 관한 것으로서, 보다 상세하게는 사용자가 입식으로 배뇨를 할 수 있도록 요도 및 방광에 시술되는 도뇨관으로서, 상기 방광의 소변을 외부로 배출하도록 상기 요도에 배치되며, 내부에는 관통되게 배출통로가 형성되고, 선단은 상기 방광의 내부에 배치되며 끝단은 상기 요도의 외부에 배치되는 배출관본체와, 상기 배출통로에 이동되는 소변을 차단 또는 이동시키는 단속밸브와 상기 단속밸브를 제어하는 단속버튼으로 구성된 제어밸브와, 상기 방광의 내부에 배치되도록 상기 배출관본체의 선단에 형성되는 걸림튜브와, 상기 걸림튜브에 충진재를 주입하는 충진재주입부로 이루어져, 방광을 연결하며 요도에 배치되는 도뇨관에 소변의 배출을 제어하는 제어밸브를 마련하여, 별도의 연결관과 소변주머니가 불필요하게 됨으로써, 사용자가 원하는 시점에 소변의 배출이 가능해지고 서서 소변을 배출시킬 수 있게 되며, 소변주머니를 휴대하지 않아도 되므로 원활한 일상생활이 가능해지는 효과가 있다.
판매자설명 : 의료기구로 배뇨가 힘들 경우 유치하는 도뇨관으로 기존 도뇨관은 요도에 거취하는 도뇨관과 소변이 저장되는 소변주머니로 구성됩니다.
본 발명은 소변주머니가 없이 방광이 소변주머니 역할을 하게 함으로서 도뇨관을 설치해도 옷만 입으면 표시가 없는 의료기기입니다.
1020180139262





