출원번호 : 10-2016-0057344 (출원일: 2016-05-11)
등록번호 : 10-1798390 (등록일: 2017-11-10)
특허권자 : 충남대학교산학협력단
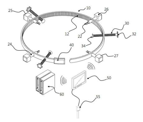
요약 : 본 발명은 자동화된 수목활력도 측정용 수목진단시스템에 관한 것으로서, 보다 상세하게는 휴대성 및 재활용이 가능한 측정장치를 활용해 친환경성을 제공할 뿐만 아니라, 한번의 설치로 나무의 거부 반응에 대해 적절히 대처하여 정밀한 데이터를 장기적 내지는 주기적으로 수집이 가능한 자동화된 수목활력도 측정용 수목진단시스템에 관한 것이다. 본 발명은 다수개의 관통홀이 형성되고 일측에 체결부가 형성되어 수목에 조임 설치되는 바디부; 상기 바디부의 관통홀에 삽입되며, 수목삽입바늘의 일부가 수목에 삽입되어 수목의 상태를 측정하는 다수개의 수목삽입바늘부; 외부에서 수목을 향하도록 상기 바디부에 형성된 상기 관통홀에 삽입 설치되어 수목과 상기 바디부를 고정하는 다수개의 조임체결부; 상기 바디부의 끝단으로부터 연장되어 형성되며, 상기 바디부의 다른쪽 끝단이 삽입되도록 내부에 공간을 제공하고, 내부 공간상에는 상기 바디부의 다른쪽 끝단이 삽입되어 고정되기 위한 체결부; 상기 수목삽입바늘부와 토양정보측정센서로부터 측정되는 측정데이터가 저장되는 저장부와 측정된 측정데이터를 연산처리하는 제어처리부와 상기 측정데이터정보와 설정버튼이 표시되는 모니터부 및 외부 데이터베이스 서버로 송수신하는 통신수단, 대기정보측정센서, 위치정보센서가 포함되는 컨트롤러; 상기 수목의 주변에 설치되어 토양의 상태를 측정하는 토양정보측정센서; 표준 수목의 활력도 평가지표가 저장되어 있으며, 상기 컨트롤러에서 전송된 각종 측정 데이터를 비교분석하여 그 결과를 상기 컨트롤러 또는 관리자 단말기로 전송하는 외부데이터베이스 서버;를 더 포함하며, 상기 수목삽입바늘 및 토양정보측정센서를 통해 수목의 활력도 및 토양의 상태를 측정하고, 일정 시간 후에 다른 수목삽입바늘을 통해 수목의 활력도 및 토양의 상태를 측정하는 것을 반복한다.
대표청구항 : 복수개의 관통홀(28, 29)이 형성되고 일측에 체결부가 형성되어 수목에 조임 설치되는 바디부(10);상기 바디부의 관통홀에 삽입되며, 수목삽입바늘의 일부가 수목에 삽입되어 수목의 상태를 측정하는 복수개의 수목삽입바늘부(20);외부에서 수목을 향하도록 상기 바디부에 형성된 상기 관통홀에 삽입 설치되어 수목과 상기 바디부를 고정하는 복수개의 조임체결부(30);상기 바디부의 끝단으로부터 연장되어 형성되며, 상기 바디부의 다른쪽 끝단이 삽입되도록 내부에 공간을 제공하고, 내부 공간상에는 상기 바디부의 다른쪽 끝단이 삽입되어 고정되기 위한 체결부(40);상기 수목삽입바늘부(20)와 토양정보측정센서(55)로부터 측정되는 측정데이터가 저장되는 저장부와 측정된 측정데이터를 연산처리하는 제어처리부와 측정데이터정보와 설정버튼이 표시되는 모니터부 및 외부 데이터베이스 서버로 송수신하는 통신수단, 대기정보측정센서, 위치정보센서가 포함되는 컨트롤러(50);상기 수목의 주변에 설치되어 토양의 상태를 측정하는 토양정보측정센서(55);표준 수목의 수목활력도 평가지표가 저장되어 있으며, 상기 컨트롤러에서 전송된 각종 측정 데이터를 비교분석하여 그 결과를 상기 컨트롤러 또는 관리자 단말기로 전송하는 외부데이터베이스 서버(60);를 포함하며, 상기 수목삽입바늘 및 토양정보측정센서(55)를 통해 수목의 활력도 및 토양의 상태를 측정하고, 일정 시간 후에 다른 수목삽입바늘을 통해 수목의 활력도 및 토양의 상태를 측정하는 것을 반복하고,상기 복수의 수목삽입바늘부(20)에는 컨트롤러와 유무선으로 통신할 수 있는 통신수단이 포함되고, 고유 ID가 부여될 수 있으며, 상기 수목삽입바늘부(20)의 각 삽입부에는 모터, 랙기어, 피니언 기어가 더 포함되어 수목삽입바늘이 수목의 내부로 전진 및 후진하며 침입 및 후퇴될 수 있도록 하며,상기 바디부(10)에 수목삽입바늘부(20)가 복수개가 구비되는 경우, 컨트롤러에서 일정시간 간격으로 수목삽입바늘부(20)의 각 제1삽입부(24), 제2삽입부(25), 제3삽입부(26), 제4삽입부(27)의 수목삽입바늘(22)이 작동되도록 설정하면 제1삽입부(24)의 수목삽입바늘이 수목에 삽입되어 수목의 상태를 측정하고 후퇴하고 나서, 설정된 시간이 되면 상기 제2삽입부(25)의 수목삽입바늘(22)이 수목에 삽입되어 수목의 상태를 측정하고 후퇴하며, 상기 제3삽입부(26)와 상기 제4삽입부(27)의 바늘도 연속적으로 수목에 삽입되어 수목의 상태를 연속적으로 측정하는 것을 특징으로 하는 자동화된 수목활력도 측정용 수목진단시스템.
상세링크 : http://newsd.wips.co.kr/wipslink/api/dkrdshtm.wips?skey=3517502000910





