출원번호 : 1020120074298 (2012.07.09)
등록번호 : 1013395930000 (2013.12.03)
특허권자 : 윤국영
요약 :
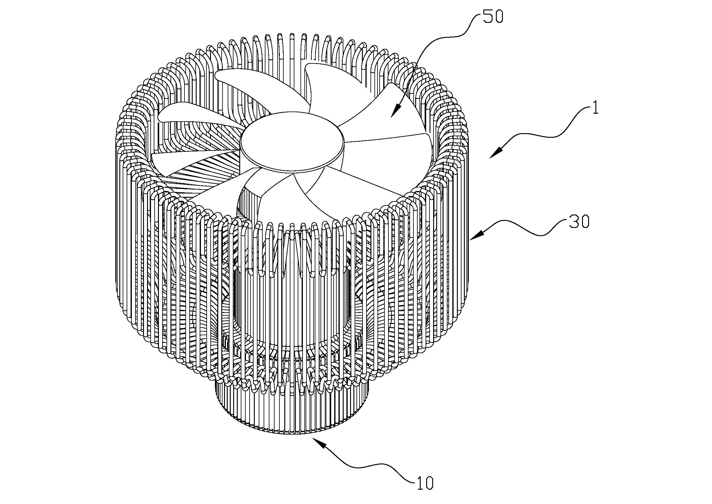
본 발명은 흡전열부재와, 파이프 형상이고 다수의 관형부재를 포함하여 이루어진 전자부품용 냉각장치에 관한 것으로, 상기 흡전열부재는, 발열부품에서 발생되는 열을 전달받도록, 그 발열부품에 적어도 일부분이 밀착 결합될 수 있는 흡열판부; 상기 흡열판부로부터 연장 형성된 전열판부; 상기 흡열판부 및 전열판부에 의해 밀폐되도록 형성된 제1공간; 상기 제1공간을 형성한 상기 흡열판부 및 전열판부의 내측면에 형성된 윅(wick)부; 및 상기 제1공간에 구비된 제1작동유체;를 포함하여 구성되고, 상기 관형부재는, 상기 흡전열부재의 전열판부에 결합되어, 그 전열판부로부터 열을 전달받을 수 있는 흡열부; 상기 흡열부로부터 연장형성되어 열을 발산하는 방열부; 상기 상기 흡열부 및 방열부의 내측면에 길이방향을 따라 길게 형성되고, 원주방향으로 따라 상호 이격되도록 형성된 다수의 그루브(groove)윅; 상기 흡열부 및 방열부의 연통된 내부에 밀폐되도록 형성된 제2공간; 및 상기 제2공간에 구비된 제2작동유체를 포함하여 구성된 것을 특징으로 한다.
1020120074298





