출원번호 : 10-2019-0047072 (2019.04.23)
등록번호 : 10-22330400000 (2021.03.23)
등록권리자 : 신한대학교 산학협력단
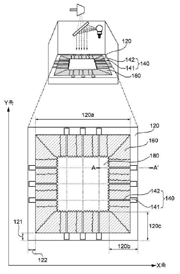
본 발명의 조사야 최적화 조절장치(100)는 시준기 내측 둘레에 사각형 내지 원형의 형태로 고정되어 엑스선 투과창(180)을 형성하는 방사틀(120)과, 상기 방사틀(120)의 내측에 방사틀(120)의 둘레를 따라서 안착되며 구동수단(141)과 이동부(142)로 구성되어 이동부(142)의 길이 조절에 의해 투과창(180)의 조사야를 조절하는 다수의 투과창조절수단(140)과, 상기 방사틀(120)의 내측 둘레를 따라서 일단은 상기 방사틀(120)의 말단에 고정되고 타단은 상기 투과창조절수단(140)에 고정되어 조사야 외 영역은 차폐를 하여 중앙부분에 투과창(180)을 형성하는 차폐수단(160)과, 입력부에서 입력된 조사야로 상기 차폐수단(160)이 이동되도록 상기 투과창조절수단(140)을 제어하는 제어부(미도시)를 포함한다.
이 때, 상기 차폐수단(160)을 기존의 단단하고 판상형인 재질 대신, 차폐물질을 포함하는 차폐원단 또는 합성수지 필름과 같이 신축성과 유연성을 지니는 재질로 구성한다.
상기 재질의 특수성에 따라 접힘과 펼침이 원활한 주름친 형태로 조성이 가능해진 상기 차폐수단(160)은 각각의 구동수단(141)에 의해 독립적으로 구동되는 다수의 이동부(142)에 연결되어, 제어부(미도시)의 자동 또는 수동제어에 의해 구동된다.
이에 의해 방사선사는 용이하게 피사체의 형태와 굴곡에 맞는 정확하고 미세한 차폐수단(160)의 모양 조절을 할 수 있다. 상기 차폐수단(160)은 엑스선을 차단하고, 차폐수단(160)의 중앙에 형성된 투과창(180)으로는 엑스선이 투과되어, 투과창(180)의 모양에 따라 엑스선의 조사야가 특정된다.
1020190047072





