출원번호 : 10-2017-0107943 (2017년08월25일)
등록번호 : 10-2055192 (2019년12월06일)
특허권자 : 한밭대학교
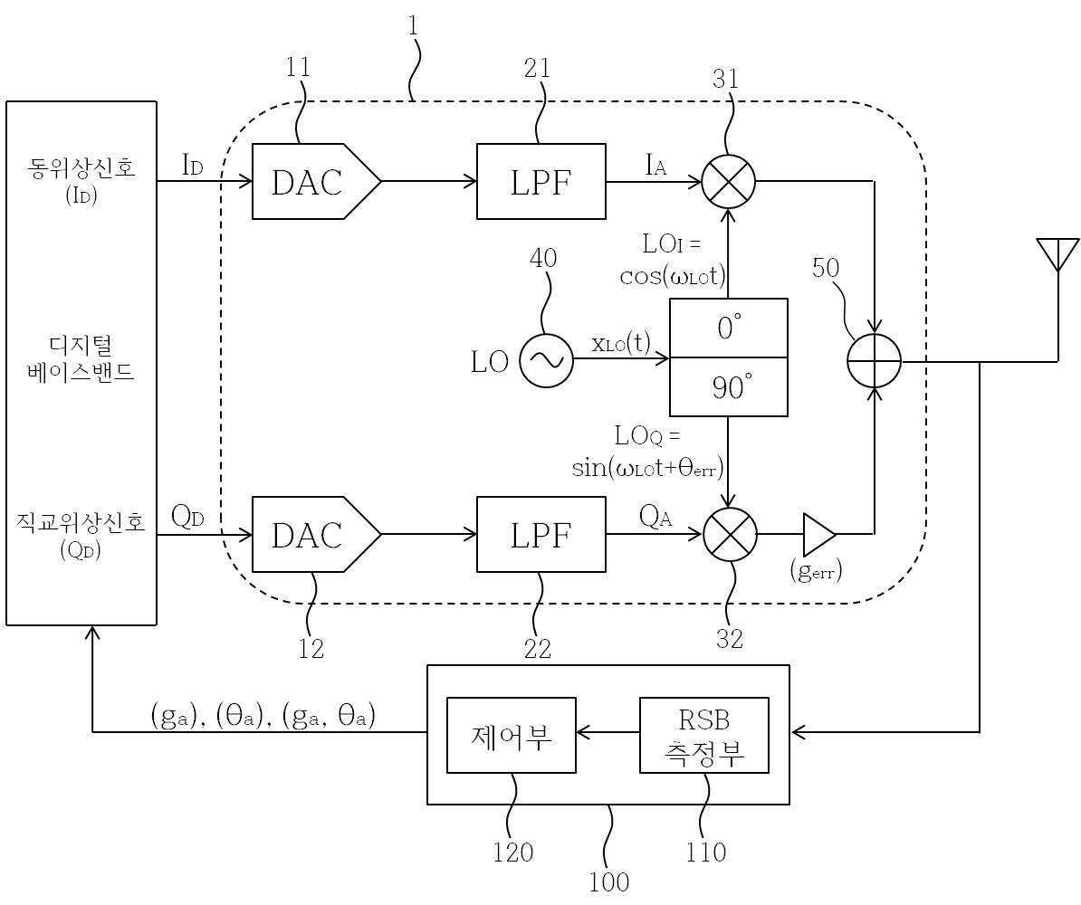
요약 : 본 발명은 직접 변환 송신기에 입력되는 디지털 베이스밴드의 동위상신호(ID)와 직교위상신호(QD)에 대하여 상기
직접 변환 송신기에서 출력되는 신호의 RSB인 기준 RSB를 측정하고, 제어부가 디지털 베이스밴드에 입력하는 게
인 미스매치 파라미터(ga) 또는 위상 미스매치 파라미터(θa)에 따라 상기 직접 변환 송신기에서 출력되는 신호의
RSB인 추가 RSB를 측정하는 방법을 통해, 상기 직접 변환 송신기의 게인 에러 파라미터(gerr)와 위상 에러 파라미
터(θerr)를 결정하고, 상기 게인 에러 파라미터(gerr)와 위상 에러 파라미터(θerr)를 상기 직접 변환 송신기의
I/Q 불균형 보상에 활용하도록 구성됨으로써, 간이하고 정확한 보상이 가능하다는 이점이 있다.





