출원번호 : 10-2018-0024888 (출원일: 2018-02-28)
등록번호 : 10-1900262 (등록일: 2018-09-13)
특허권자 : 충남대학교산학협력단
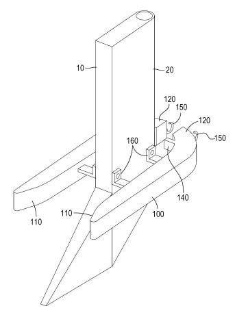
요약 : 본 발명은 직파기용 복토장치에 관한 것으로, 견인수단에 의해 견인되는 직파기에 구성되는 복토장치로서, 직파기에 구비되어 토양을 굴착하여 파종골을 형성하는 쟁기날; 쟁기날의 후면부에 구비되어 종자를 파종골에 공급하는 종자공급관; 및 쟁기날의 양 측면에 각각 구비되어 쟁기날에 의해 굴착된 토양을 내측으로 모아 종자가 공급된 파종골에 공급하여 복토하는 복토판;을 포함하는 직파기용 복토장치를 제공한다.
대표청구항 : 견인수단에 의해 견인되는 직파기에 구성되는 복토장치로서, 직파기에 구비되어 토양을 굴착하여 파종골을 형성하는 쟁기날; 쟁기날의 후면부에 구비되어 종자를 파종골에 공급하는 종자공급관; 및 쟁기날의 양 측면에 각각 구비되어 쟁기날에 의해 굴착된 토양을 내측으로 모아 종자가 공급된 파종골에 공급하여 복토하는 복토판;을 포함하고,양 복토판은 그 내측 선단부가 내측에서 외측으로 확개되도록 경사진 경사면으로 형성되어, 쟁기날에 의해 굴착된 토양을 양 복토판 사이로 모을 수 있고, 그 후면부가 서로 마주하도록 절곡된 절곡부가 형성되어, 양 복토판 사이에 모아진 토양을 파종골 내로 유도하고, 종자공급관 후방의 양 복토판에는 서로 마주하도록 돌출된 보조바가 이격되게 형성되어, 양 복토판 사이에 모아진 토양을 파종골 내로 유도하여 복토하고 복토된 토양을 다지는 직파기용 복토장치.
상세링크 : http://newsd.wips.co.kr/wipslink/api/dkrdshtm.wips?skey=3518384000917





