컵홀더 인출기
출원번호 : 10-2019-0150991 (출원일: 2019-11-22)
등록번호 : 10-2219120 (등록일: 2021-02-17)
특허권자 : 충남대학교산학협력단
요약 : 본 발명은 컵홀더가 사용되는 곳에 구비되어 사용자가 한손으로도 편리하게 컵홀더를 끼워 사용할 수 있도록 컵홀더를 인출시키는 장치로, 구조가 간단하여 장치를 제조하는 시간 및 비용이 절감되는 효과가 있으며, 단순한 동작으로 작동 가능하기 때문에 남녀노소 쉽게 사용 가능하다는 장점이 있다.
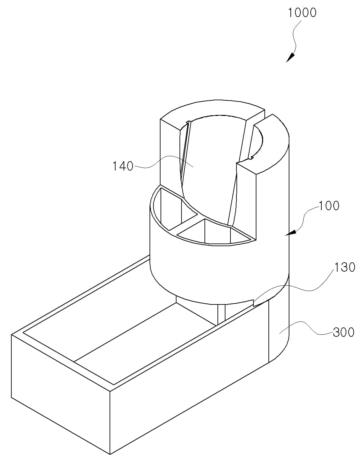
대표청구항 : 하부에 배치되며, 접혀진 컵홀더가 내부로삽입되도록 형성되는 컵홀더 삽입부;상기 컵홀더 삽입부를 통해 내부에 삽입된 접혀진 상기 컵홀더가 상승하며 펼쳐지도록 경사면이 형성된 가이드부; 및상부에 배치되며, 상기 가이드부를 통해 펼쳐진 상기 컵홀더에 음료컵을 꼽아 상기 컵홀더를 수령하는 컵홀더 수령부;를 포함하는 본체부;와상기 컵홀더의 하부를 밀어 상기 컵홀더 삽입부로 상기 컵홀더를 투입하는 승강부;를 포함하여 구성되는 것을 특징으로 하는 컵홀더 인출기.
상세링크 : http://newsd.wips.co.kr/wipslink/api/dkrdshtm.wips?skey=3521092001252





