출원번호 : 10-2015-0105004 (2015년07월24일)
등록번호 : 10-1780546 (2017년09월14일)
특허권자 : 한경대학교 산학협력단
요약 :
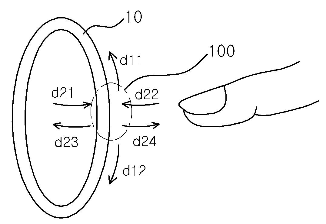
본 발명에 따르면, 유저가 착용하는 링(ring)에서 상기 유저의 터치 입력을 수신하는 터치 입력 수신 단계; 상기 터치 입력 수신 단계에서 수신한 복수 개의 터치 입력의 집합을 이용하여 터치 입력의 전체 트레이스(trace)를 계산하는 터치 입력 집합 기반 트레이스 계산 단계; 및 상기 터치 입력 집합 기반 트레이스 계산 단계에서 계산된 상기 전체 트레이스에 대응되는 상기 유저의 명령을 조회하는 대응 유저 명령 조회 단계;를 포함하는, 터치 입력의 트레이스 기반 링 유저 인터페이스의 입력 방법을 제공한다.





