출원번호 : 10-2019-0056896 (2019년05월15일)
등록번호 : 10-2034988 (2019년10월15일)
특허권자 : 김일열
요약 :
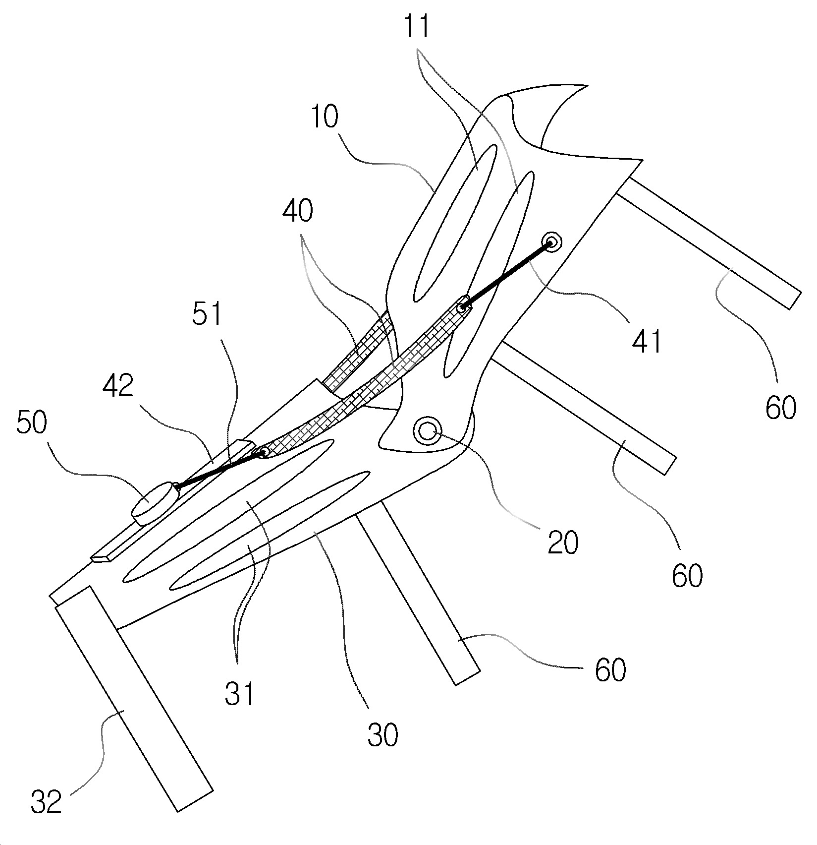
본 발명은 팔 관절 과부하 감소를 위한 운반 보조기에 관한 것으로, 더욱 상세하게는 작업자가 물건을 들어 올리거나 내림 또는 운반하는 과정에서 물품의 무게감을 감소시켜 팔 관절의 과부하를 줄여 손목과 팔꿈치를 보호할 수 있도록 할 목적으로, 인체의 상박에 착용되는 상박 보호대(10); 인체의 하박에 착용되고 상부가 상기 상박 보호대(10)의 하부에 연결축(20)으로 연결되어 회동 가능하게 된 하박 보호대(30); 상박 보호대(10)와 하박 보호대(30)를 상호 연결하여 상박 보호대(10)와 하박 보호대(30)가 팔의 굽힘 방향으로 인장력을 갖게 하는 탄성부재(40); 및 상기 하박 보호대(30)의 하단에 구비되어 손목을 감쌀 수 있게 마련된 손목 보호대(32);를 포함하여 구성된 운반 보조기에 관한 것이다.
- 판매자 설명 : 현재 개발 붐이 일고 있는 웨어러블 로봇 관련 특허로 산업현장이나 일상생활에서 안고, 들고 운반하는 모든 작업에 적용이 가능한 운반용 웨어러블은 현재 조달품목으로 등록된 제품입니다. 이와 관련한 특허 4건, 상표1건, 실용신안 1건 등 전체를 판매하고자 합니다.
1020190056896 (1)





