플라스틱 소초 자동코팅장치 및 자동코팅방법
출원번호 : 10-2016-0159862 (출원일: 2016-11-29)
등록번호 : 10-1889274 (등록일: 2018-08-10)
특허권자 : 충남대학교산학협력단
요약 : 본 발명은 플라스틱 소초 자동코팅장치 및 자동코팅방법에 관한 것으로, 컨베이어벨트, 침적기, 공기분사부 및 수집기로 이루어진 자동코팅장치를 이용하여, 소초를 왁스용액을 자동으로 도포하고, 소초의 막힌 기공을 뚫어줌으로써 제작속도를 향상시키면서 꿀벌에 의해 벌집이 잘 지어지는 우수한 소초를 제공하기 위한 플라스틱 소초 자동코팅장치 및 자동코팅방법이다.
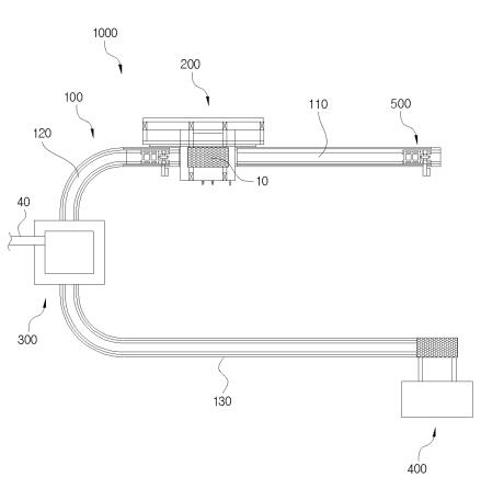
대표청구항 : 소초(10)를 이송하는 컨베이어벨트(100); 상기 컨베이어벨트(100) 상에 형성되며, 내부에 왁스 용액이 구비되고, 이송된 상기 소초(10)를 침적시켜 왁스 용액을 도포하는 침적기(200); 상기 컨베이어벨트(100) 상에 형성되며, 상기 침적기(200)에서 도포된 소초(10)의 기공을 확보하기 위해 고압공기를 분사하는 공기분사부(300); 및 상기 컨베이어벨트(100) 상에 형성되며, 상기 침적기(200) 및 공기분사부(300)를 거쳐서 이송된 상기 소초(10)를 수집하는 수집기(400); 를 포함하는 플라스틱 소초 자동코팅장치에 있어서, 상기 컨베이어벨트(100)는 상기 침적기(200)의 일측으로 상기 소초(10)를 이송하도록 형성된 제1벨트(110), 상기 침적기(200)의 타측과 상기 공기분사부(300) 사이에 형성되어 상기 공기분사부(300)에서 분사되는 고압공기에 의해 상기 침적기(200)에 수용된 왁스 용액이 냉각되는 것을 방지하는 제2벨트(120) 및 상기 공기분사부(300)와 상기 수집기(400) 사이에 설치된 제3벨트(130)를 포함하는 플라스틱 소초 자동코팅장치.
상세링크 : http://newsd.wips.co.kr/wipslink/api/dkrdshtm.wips?skey=3518384000434





