출원번호 : 10-2017-0123364 (2017.09.25)
등록번호 : 10-19380890000 (2019.01.07)
등록권리자 : 신한대학교 산학협력단
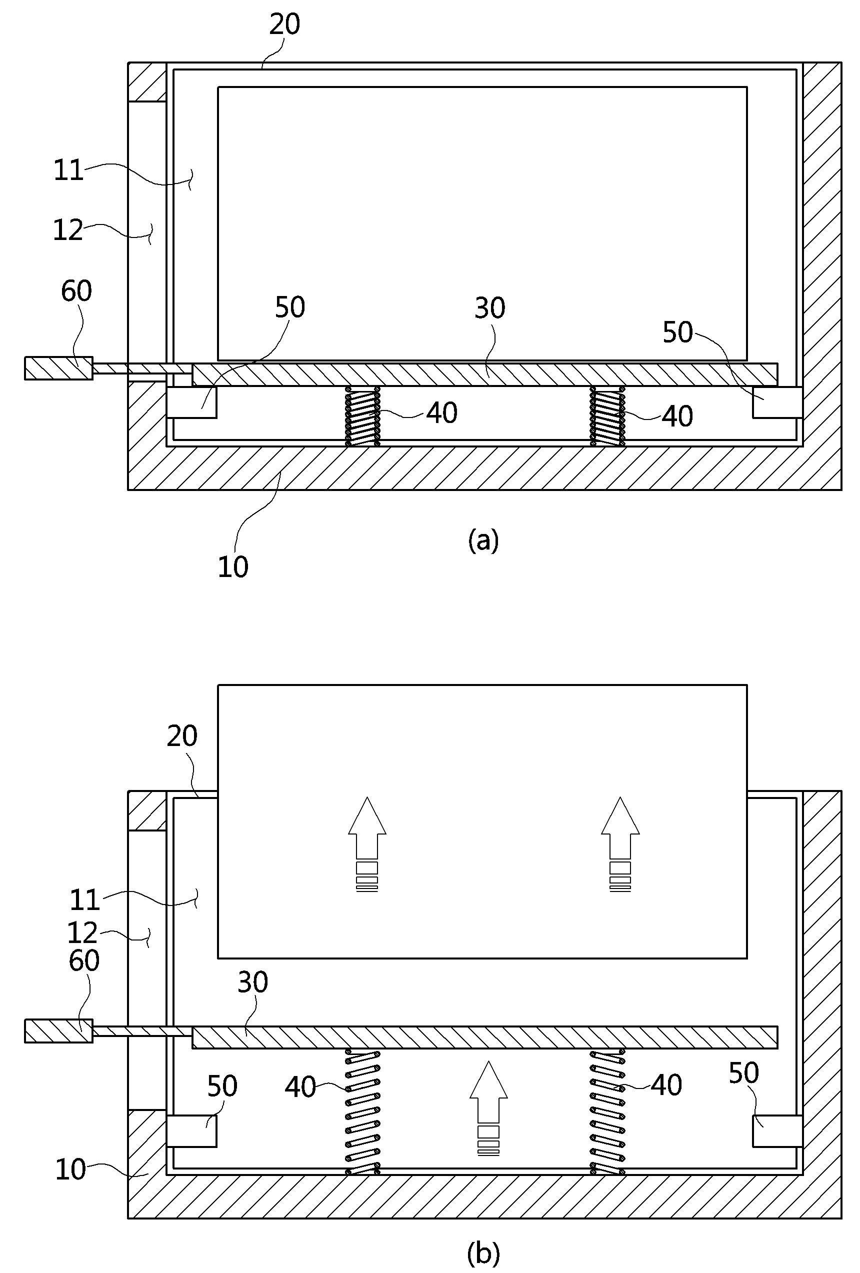
본 발명은 방사선 촬영용 필름 카세트를 살균하는 살균장치에 있어서, 카세트가 수납되는 슬롯이 형성된 본체부; 플라즈마를 방출하도록 슬롯의 내부에 설치되는 플라즈마 패널부; 상기 슬롯에 삽입되는 카세트의 하면을 지지하는 상태로 카세트를 슬롯의 상, 하 방향으로 안내하도록 슬롯의 내부에 설치되는 지지부; 상기 슬롯의 하면과 지지부 사이에 개재되어 상기 지지부가 하방으로 이동하면 이에 따른 반발력을 지지부에 제공하는 복원부; 및 상기 지지부와 접촉하도록 상기 슬롯의 하부에 설치되며 슬롯의 경로상에서 지지부의 위치를 고정하거나 복원부의 반발력에 의해 지지부를 원위치로 복원하도록 지지부를 단속하는 걸림부;를 포함하되, 카세트의 살균이 완료되면 복원부에 의해 카세트가 슬롯의 상부로 튀어 오르는 것을 특징으로 한다.
1020170123364





