출원번호 : 10-2013-0008864 (2013년01월25일)
등록번호 : 10-1457115 (2014년10월27일)
특허권자 : 이정민, 이찬호
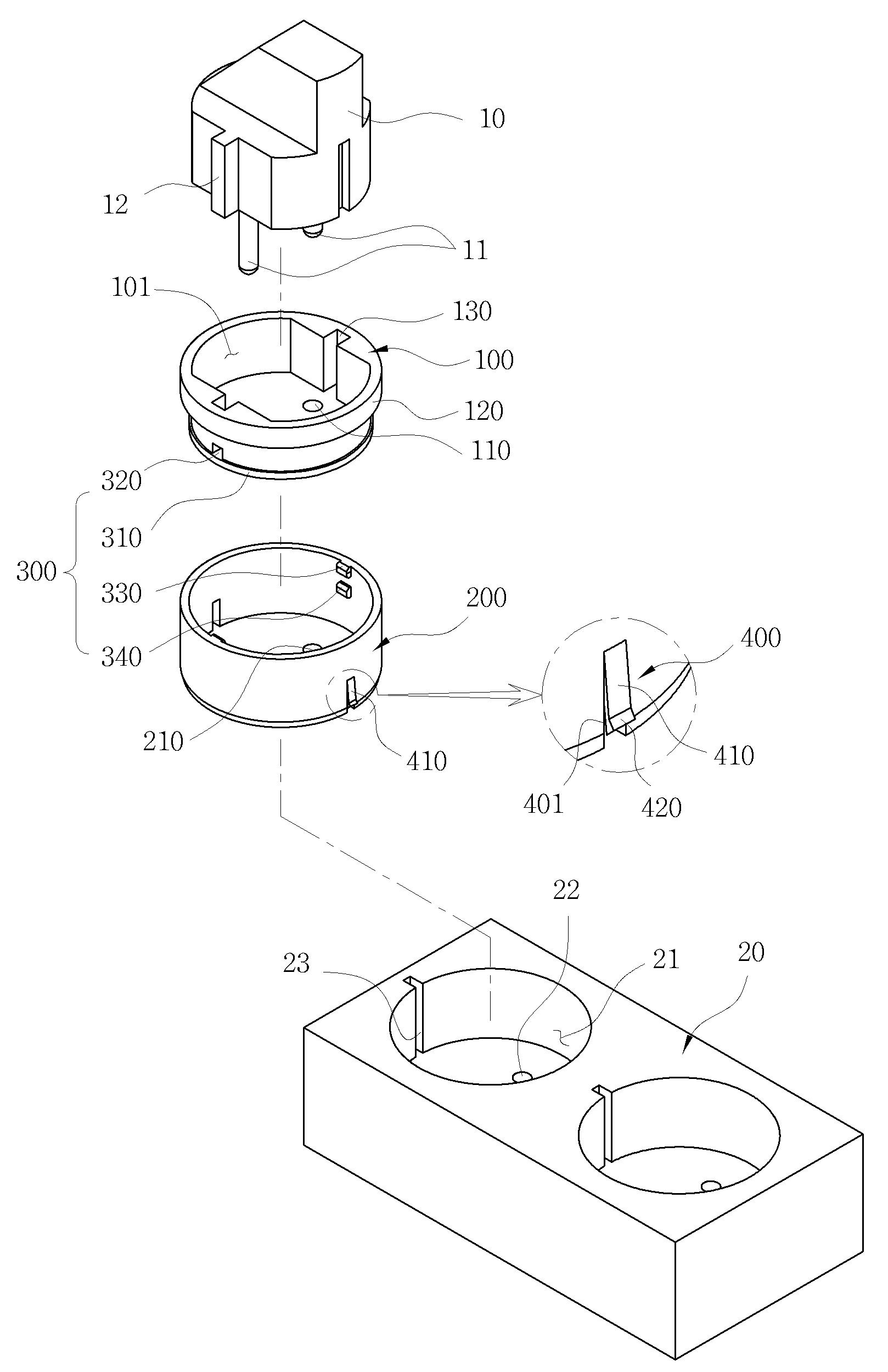
요약 : 본 발명은 플러그용 어댑터 조립체에 관한 것으로, 플러그 및 플러그단자에 대하여 결합이 이루어지는 제1 플러그 어댑터; 상기 제1 플러그 어댑터와 결합되며 콘센트의 플러그 삽입구에 착탈결합되는 제2 플러그 어댑터; 상기 제1 플러그 어댑터와 제2 플러그 어댑터 사이에 형성되며 상호 간의 이탈을 방지함과 아울러 상기 플러그단자가 콘센트의 단자삽입구에 접하는 것을 규제하는 걸림단속부재; 및 상기 제2 플러그 어댑터에 형성되며 제2 플러그 어댑터의 회전방향에 따라 플러그단자와 콘센트의 단자삽입구의 통전 위치를 안내하도록 상기 콘센트의 가이드홈에 끼워지는 탄성걸림부재를 포함하여 구성된 것을 특징으로 한다.
이에 따라, 콘센트가 어둡고 좁은 장소에 설치되어 있더라도 시각적인 도움 없이 플러그단자를 콘센트의 단자 삽입구에 정확히 위치시켜 신속하게 접속시킬 수 있는 착탈결합이 용이하므로 플러그를 콘센트에 장시간 꽃아 둠으로써 발생하는 대기전력소비를 억제시킬 수 있는 효과가 있다.
1020130008864





