출원번호 : 1020200089508 (2020.07.20)
등록번호 : 1021640280000 (2020.10.05)
특허권자 : 김대현
요약 :
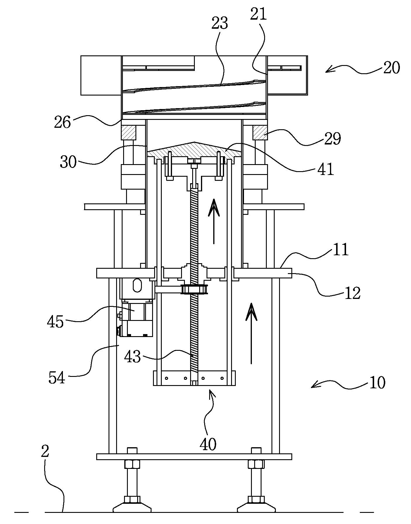
본 발명은 호퍼 내장형 파츠피더 및 그 파츠피더의 제어방법에 관한 것으로 파츠피더 본체와 호퍼의 기존 수평적 구조를 수직적 구조의 호퍼 내장형으로 개선하여 파츠피더 본체의 상부에 설치되는 호퍼의 설치공간을 없애도록 함과 아울러, 기존 수평적 구조의 호퍼에서 파츠피더 본체로 낙하되는 구조로 인해 발생되는 공급부품 손상과 소음을 줄이도록 하기 위하여, 지면(2)에 고정설치되며, 상기 지면(2)의 상부측에 높이를 갖는 수평판(12)이 구비되는 작업설치대(10); 상기 수평판(12)의 상부에 이격 구비되고, 원통 형태로 형성되어 내면(21)을 따라 공급부품(3)이 차례로 나선방향으로 상향 이동되는 테두리이동로(23)가 형성되며, 상기 테두리이동로(23)의 상단부에서 원통 외측으로 구비되어 공급부품(3)을 외측으로 배출시키도록 직선리니어(25)가 구비되는 가이드트랙(20); 상기 가이드트랙(20)의 하단부(26)에 개방부(27)가 형성되고, 상기 가이드트랙(20)의 내부에 진동을 부여하는 진동자(29)가 가이드트랙(20)의 하단부(26) 테두리측에 다수 구비되며, 상기 수평판(12)의 상부면(11)과 가이드트랙(20)의 하단부(26) 상의 개방부(27) 사이에 고정 구비되는 원통 형태의 호퍼(30); 상기 호퍼(30) 내의 하부측에는 호퍼(30) 내부로 공급된 다수의 공급부품(3)이 안착됨과 아울러, 안착된 공급부품(3)을 상하로 이동시키는 승강부재(41)가 구비되고, 상기 승강부재(41)의 하부측에 수직하게 볼스크류(43)가 연결 구비되며, 상기 볼스크류(43)는 일측에 구비된 서보모터(45)에 연결되어, 상기 서보모터(45)의 회전력에 의해 볼스크류(43)가 축회전되면서 승강부재(41)를 상하로 이동시키도록 하여 상기 승강부재(41) 상에 공급안착된 다수의 공급부품(3)이 가이드트랙(20)에 설치된 테두리이동로(23)의 하단부측으로 공급되게 하는 승강수단(40); 상기 진동자(29) 및 승강수단(40)에 연결되어 승강부재(41)의 상하 수직이동상태를 제어하는 컨트롤러(60);를 포함하여 이루어지는 것을 특징으로 한다.
1020200089508





