출원번호 : 10-2023-0019172 (2023.02.14)
등록번호 : 10-26024770000 (2023.11.10)
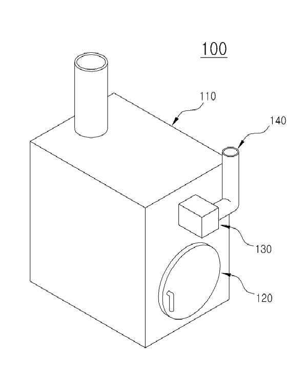
요약 : 본 발명은 화목 보일러에 관한 것으로, 하부에 연소실이 형성되고, 상부에 물탱크가 설치되어 상기 연소실로부터 발생되는 열기를 통해 물을 가열시키는 본체; 상기 본체의 전방에 설치되어 상기 연소실을 개폐하는 개폐부; 상기 개폐부의 상방에 설치되고, 상기 개폐부의 개폐 여부에 따라 작동되어 상기 개폐부로부터 유출되는 연기를 흡기하는 흡기부; 및 상기 흡기부로부터 흡기되는 연기를 안내하는 배기부;를 포함한다. 이러한 구성으로, 화목 연료가 연소되는 연소실의 개폐부가 개방될 때 유출되는 연기를 흡기팬으로 흡기하여 외부로 배기함으로써, 화목 연료를 투입하기 위해 개폐부 개방 시 연소실로부터 유출되는 가스 및 연기를 흡기하여 호흡기 질환 및 주변 시설의 그을림을 방지할 수 있는 효과를 얻을 수 있다.





