...
, ,

화재 지향형 소화기 Fire extinguisher oriented

판매 대리인 : 기율특허

전화번호 : 02-782-1004

메일주소 : kiyul@kiyul.co.kr

판매특허요약 : 본 발명의 일 실시예는 높은 정확도의 3차원 정보를 획득할 수 있는 3차원 센싱 기술을 이용하여 다양한 형태의 실외 환경(야간, 우천, 안개 등)에 강인한 신뢰도 높은 장애물 감지를 통해 안전성 및 편의성이 향상된 3차원 센서 기반 파워 테일게이트 제어 시스템 및 방법을 제공한다.
본 발명의 일 실시예는 3차원 센서 기반으로 수신된 신호로부터 물체의 3차원 정보(거리, 위치, 형상 등)를 추출하고 장애물을 감지하여 파워 테일게이트 개폐 기능을 포함한 작동 제어를 수행함으로써 차량 후방 안전성 및 편의성을 향상시킬 수 있는 3차원 센서 기반 파워 테일게이트 제어 시스템 및 방법을 제공한다.

가격 : 가격협의

SKU: 한밭대학교 산학협력단 카테고리: , ,

출원번호 : 10-2014-0182423 (2014년12월17일)

등록번호 : 10-1618991 (2016년03월29일)

특허권자 : 한밭대학교 산학협력단

요약 :

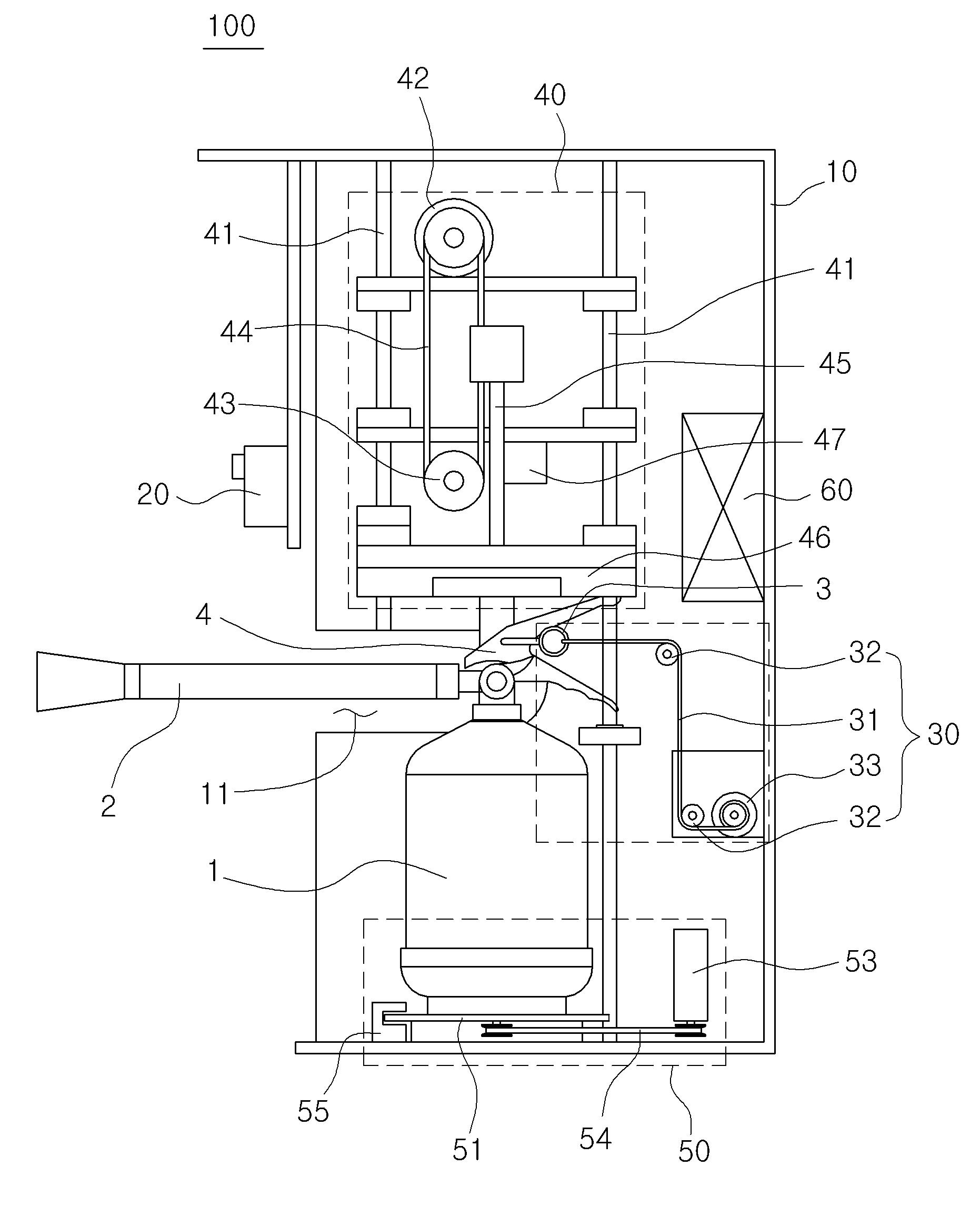
본 발명은 열감지센서를 통해 화재 및 발화 지점을 감지하고, 발화지점으로 내장된 소화수단을 회전시켜 소화수단의 노즐이 발화지점을 향하도록 한 후, 소화수단을 작동해, 화재가 진행되는 상황에서 초기 진압을 실시하여 더 큰 화재를 예방하거나, 화재의 진행속도를 지연시킴은 물론, 소화수단의 압력을 줄여 소화수단에 따른 2차 폭발피해를 줄일 수 있는 화재 지향형 소화기를 제공한다.1020140182423